Front Suspension & Steering Geometry Fundamentals

Started by Ron Sutton, Nov 13, 2025, 10:34 PM

Previous topic - Next topic

Ron Sutton

Race Car Designer
Administrator
*****
Full Member
Posts: 186
Location: USA
State: Florida
City: Ocala
Logged
Front Suspension & Steering Geometry Fundamentals




Welcome,
I promise to post advice only when I have significant knowledge & experience on the topic. Please don't be offended if you ask me to speculate & I decline. I don't like to guess, wing it or BS on things I don't know. I figure you can wing it without my input, so no reason for me to wing it for you.

A few guidelines I'm asking for this thread:
1. I don't enjoy debating the merits of tuning strategies with anyone that thinks it should be set-up or tuned another way. It's not fun or valuable for me, so I simply don't do it. Please don't get mad if I won't debate with you.

2. If we see it different ... let's just agree to disagree & go run 'em on the track. Arguing on an internet forum just makes us all look stupid. Besides, that's why they make race tracks, have competitions & then declare winners & losers.

3. To my engineering friends ... I promise to use the wrong terms ... or the right terms the wrong way. Please don't have a cow.

4. To my car guy friends ... I promise to communicate as clear as I can in "car guy" terms. Some stuff is just complex or very involved. If I'm not clear ... call me on it.

5. I type so much, so fast, I often misspell or leave out words. Ignore the mistakes if it makes sense. But please bring it up if it doesn't.

6. I want people to ask questions. That's why I'm starting this thread ... so we can discuss & learn. There are no stupid questions, so please don't be embarrassed to ask about anything within the scope of the thread.

7. If I think your questions ... and the answers to them will be valuable to others ... I want to leave it on this thread for all of us to learn from. If your questions get too specific to your car only & I think the conversation won't be of value to others ... I may ask you to start a separate thread where you & I can discuss your car more in-depth.

8. Some people ask me things like "what should I do?" ... and I can't answer that. It's your hot rod. I can tell you what doing "X" or "Y" will do and you can decide what makes sense for you.

9. It's fun for me to share my knowledge & help people improve their cars. It's fun for me to learn stuff. Let's keep this thread fun.

10. As we go along, I may re-read what I wrote ... fix typos ... and occasionally, fix or improve how I stated something. When I do this, I will color that statement red, so it stands out if you re-skim this thread at some time too.

---------------------------------------------------------------------------------------------------------------------------------------- 

Let's Clarify the Cars We're Discussing:
We're going to keep the conversation to typical full bodied Track & Road Race cars ... front engine, rear wheel drive ... with a ride height requirement of at least 1.5" or higher. They can be tube chassis or oem bodied cars ... straight axle or IRS ... with or without aero ... and for any purpose that involves road courses or autocross. 

But if the conversation bleeds over into other types of cars too much ... I may suggest we table that conversation. The reason is simple, setting up & tuning these different types of cars ... are well ... different. There are genres of race cars that have such different needs, they don't help the conversation here.

In fact, they cloud the issue many times. If I hear one more time how F1 does XYZ ... in a conversation about full bodied track/race cars with a X" of ride height ... I may shoot someone. Just kidding. I'll have it done. LOL

Singular purpose designed race cars like Formula 1-2-3-4, Formula Ford, F1600, F2000, etc, Indy Cars, IMSA Prototypes, Open Wheel Midgets & Sprint Cars. First, none of them have a body that originated as a production car. Second, they have no ride height rule, so they run almost on the ground & do not travel the suspension very far. Formula 1-2-3-4, Formula Ford, F1600, F2000, etc, Indy Cars, IMSA Prototypes are rear engine. The Open Wheel Midgets & Sprint Cars are front engine & run straight axles in front.

I have a lot of experience with these cars & their suspension & geometry needs are VERY different than full bodied track & road race cars with a significant ride height. All of them have around 60% rear weight bias. That changes the game completely. With these cars we're always hunting for more REAR grip, due to the around 60%+/- rear weight bias.

In all my full bodied track & road race cars experience ... Stock Cars, Road Race GT cars, TA/GT1, etc.  ... with somewhere in the 50%-58% FRONT bias ... we know we can't go any faster through the corners than the front end has grip. So, what we need to do, compared to Formula 1-2-3-4, Formula Ford, F1600, F2000, etc, Indy Cars, IMSA Prototypes, Open Wheel Midgets & Sprint Cars, is very different.

---------------------------------------------------------------------------------------------------------------------------------------- 

Before we get started, let's get on the same page with terms & critical concepts.

Shorthand Acronyms
IFT = Inside Front Tire
IRT = Inside Rear Tire
OFT = Outside Front Tire
ORT = Outside Rear Tire
*Inside means the tire on the inside of the corner, regardless of corner direction.
Outside is the tire on the outside of the corner.

LF = Left Front
RF = Right Front
LR = Left Rear
RR = Right Rear
ARB = Anti-Roll Bar (Sway Bar)
FLLD = Front Lateral Load Distribution
RLLD = Rear Lateral Load Distribution
TRS = Total Roll Stiffness
LT = Load Transfer
RA = Roll Angle
RC = Roll Center
CG = Center of Gravity
CL = Centerline
FACL = Front Axle Centerline
RACL = Rear Axle Centerline
UCA = Upper Control Arm
LCA = Lower Control Arm
LBJ = Lower Ball Joint
UBJ = Upper Ball Joint
BJC = Ball Joint Center
IC = Instant Center is the pivot point of a suspension assembly or "Swing Arm"
CL-CL = Distance from centerline of one object to the centerline of the other
KPI = King Pin Inclination, an older term for the angle of the ball joints in relation to the spindle
SAI = Steering Angle Inclination, a modern term for the angle of the ball joints in relation to the spindle


TERMS:
Roll Centers = Cars have two Roll Centers ... one as part of the front suspension & one as part of the rear suspension, that act as pivot points. When the car experiences body roll during cornering ... everything above that pivot point rotates towards the outside of the corner ... and everything below the pivot point rotates the opposite direction, towards the inside of the corner.

Center of Gravity = Calculation of the car's mass to determine where the center is in all 3 planes. When a car is cornering ... the forces that act on the car to make it roll ... act upon the car's Center of Gravity (CG). With typical production cars & "most" race cars, the CG is above the Roll Center ... acting like a lever. The distance between the height of the CG & the height of each Roll Center is called the "Moment Arm." Think of it a lever. The farther apart the CG & Roll Center are ... the more leverage the CG has over the Roll Center to make the car roll.

Instant Center is the point where a real pivot point is, or two theoretical suspension lines come together, creating a pivot arc or swing arm.

Swing Arm is the length of the theoretical arc of a suspension assembly, created by the Instant Center.

Static Camber is the tire angle (as viewed from the front) as the car sits at ride height. Straight up, 90 degrees to the road would be zero Camber. Positive Camber would have the top of tire leaned outward, away from the car. Negative Camber would have the top of tire leaned inward, towards the center of the car.

Camber Gain specifically refers to increasing negative Camber (top of wheel & tire leaning inward, towards the center of the car) as the suspension compresses under braking & cornering.

Total Camber is the combination of Static Camber & Camber Gain ... under braking, in dive with no roll & no steering, as well as the Dynamic Camber with chassis roll & steering.

Dynamic Camber refers to actual angle of the wheel & tire (top relative to bottom) ... compared to the track surface ... whit the suspension in dive, with full chassis roll & a measure of steering. In others, dynamically in the corner entry. For our purposes, we are assuming the car is being driven hard, at its limits, so the suspension compression & chassis/body roll are at their maximum.

Static Caster is the spindle angle (viewed from the side with the wheel off). Straight up, 90 degrees to the road would be zero Caster. Positive Caster would have the top of spindle leaned back toward to cockpit. Negative Caster would have the top of spindle leaned forward towards the front bumper.

Caster Gain is when the Caster angle of the spindle increases (to the positive) as the suspension is compressed, by the upper ball joint migrating backwards and/or the lower ball joint migrating forward ... as the control arms pivot up. This happens when the upper and/or lower control arms are mounted to create Anti-dive. If there is no Anti-dive, there is no Caster Gain. If there is Pro-Dive, there is actually Caster loss.

Anti-Dive is the mechanical leverage to resist or slow compression of the front suspension (to a degree) under braking forces. Anti-dive can be achieved by mounting the upper control arms higher in the front & lower in the rear creating an angled travel. Anti-dive can also be achieved by mounting the lower control arms lower in the front & higher in the rear, creating an angled travel. If both upper & lower control arms were level & parallel, the car would have zero Anti-dive.

Pro-Dive is the opposite of Anti-dive. It is the mechanical leverage to assist or speed up compression of the front suspension (to a degree) under braking forces. Provide is achieved by mounting the upper control arms lower in the front & higher in the rear, creating the opposite angled travel as Anti-Dive. Pro-dive can also be achieved by mounting the lower control arms higher in the front & lower in the rear, creating the opposite angled travel as Anti-Dive.

Split is the measurement difference in two related items. We would say the panhard bar has a 1" split if one side was 10" & the other side 11". If we had 1° of Pro-Dive on one control arm & 2° of Anti-Dive on the other, we would call that a 3° split. If we have 8° of Caster on one side & 8.75° on the other, that is a .75° split.

Scrub Radius = A car's Scrub Radius is the distance from the steering axis line to tread centerline at ground level. It starts by drawing a line through our upper & lower ball joints, to the ground, that is our car's steering axis line. The dimension, at ground level, to the tire tread centerline, is the Scrub Radius. The tire's contact patch farthest from the steering axis loses grip earliest & most during steering. This reduces the tire's grip on tight corners. The largest the Scrub Radius, the more pronounced the loss of grip is on tight corners. Reducing the Scrub Radius during design increases front tire grip on tight corners.

Baseline Target is the package of information about the car, like ride height, dive travel, Roll Angle, CG height, weight, weight bias, tires & wheel specifications, track width, engine power level, estimated downforce, estimated  max corner g-force, etc. We call it "Baseline" ... because it's where we're starting at & "Target" because these key points are the targets we're aiming to achieve. We need to work this package of information prior to chassis & suspension design, or we have no target.

Total Roll Stiffness (aka TRS) is the mathematical calculation of the "roll resistance" built into the car with springs, Sway Bars, Track Width & Roll Centers. Stiffer springs, bigger Sway Bars, higher Roll Centers & wider Track Widths make this number go UP & the Roll Angle of the car to be less. "Total Roll Stiffness" is expressed in foot-pounds per degree of Roll Angle ... and it does guide us on how much the car will roll.

Front Lateral Load Distribution & Rear Lateral Load Distribution (aka FLLD & RLLD):
FLLD/RLLD are stated in percentages, not pounds. The two always add up to 100% as they are comparing front to rear roll resistance split. Knowing the percentages alone, will not provide clarity as to how much the car will roll ... just how the front & rear roll in comparison to each other. If the FLLD % is higher than the RLLD % ... that means the front suspension has a higher resistance to roll than the rear suspension ... and therefore the front of the car runs flatter than the rear of the suspension ... which is the goal.

Roll is the car chassis and body "rolling" on its Roll Axis (side-to-side) in cornering.

Roll Angle is the amount the car "rolls" on its Roll Axis (side-to-side) in cornering, usually expressed in degrees.

Dive is the front suspension compressing under braking forces.

Full Dive is the front suspension compressing to a preset travel target, typically under threshold braking. It is NOT how far it can compress.

Rise = Can refer to either end of the car rising up.

Squat = Refers to the car planting the rear end on launch or under acceleration.

Pitch = Fore & aft body rotation. As when the front end dives & back end rises under braking or when the front end rises & the back end squats under acceleration.

Pitch Angle is the amount the car "rotates" fore & aft under braking or acceleration, usually expressed by engineers in degrees & in inches of rise or dive by Racers.

Diagonal Roll is the combination of pitch & roll. It is a dynamic condition. On corner entry, when the Driver is both braking & turning, front is in dive, the rear may, or may not, have rise & the body/chassis are rolled to the outside of the corner. In this dynamic state the outside front of the car is lowest point & the inside rear of the car is the highest point. 

Track Width is the measurement center to center of the tires' tread, measuring both front or rear tires.

Tread Width is the measurement outside to outside of the tires' tread. (Not sidewall to sidewall)

Tire Width is the measurement outside to outside of the sidewalls. A lot of people get these confused & our conversations get sidelined.

Floating typically means one component is re-engineered into two components that connect, but mount separate.  In rear ends, a "Floater" has hubs that mount & ride on the axle tube ends, but is separate from the axle itself. They connect via couplers.  In brakes, a floating caliper or rotor means it is attached in a way it can still move to some degree.

Decoupled typically means one component is re-engineered into two components that connect, but ACT separately. In suspensions, it typically means one of the two new components perform one function, while the second component performs a different function. 

Spring Rate = Pounds of linear force to compress the spring 1". If a spring is rated at 500# ... it takes 500# to compress it 1"

Spring Force = Total amount of force (weight and/or load transfer) on the spring. If that same 500# spring was compressed 1.5" it would have 750# of force on it.

Sway Bar, Anti-Sway Bar, Anti Roll Bar = All mean the same thing. Kind of like "slim chance" & "fat chance."

Sway Bar Rate = Pounds of torsional force to twist the Sway Bar 1 inch at the link mount on the control arm.

Rate = The rating of a device often expressed in pounds vs distance. A 450# spring takes 900# to compress 2".

Rate = The speed at which something happens, often expressed in time vs distance. 3" per second. 85 mph. * Yup, dual meanings.

Corner Weight = What each, or a particular, corner of the race car weighs when we scale the car with 4 scales. One under each tire.

Weight Bias = Typically compares the front & rear weight bias of the race car on scales. If the front of the car weighs 1650# & the rear weighs 1350# (3000# total) we would say the car has a 55%/45% front bias. Bias can also apply to side to side weights, but not cross weight. If the left side of the car weighs 1560# & the right 1440#, we would say the car has a 52/42 left side bias.

Cross Weight = Sometimes called "cross" for short or wedge in oval track racing. This refers to the comparison of the RF & LR corner weights to the LF & RR corner weights. If the RF & LR corner scale numbers add up to the same as the LF & RR corners, we would say the car has a 50/50 cross weight. In oval track circles, they may say we have zero wedge in the car. If the RF & LR corner scale numbers add up to 1650# & the LF & RR corners add up to 1350#, we would say the car has a 55/45 cross weight. In oval track circles, they may say we have 5% wedge in the car, or refer to the total & say we have 55% wedge in the car.

Grip & Bite = Are my slang terms for tire traction.

Push = Oval track slang for understeer, meaning the front tires have lost grip and the car is going towards the outside of the corner nose first.

Loose = Oval track slang for oversteer meaning the rear tires have lost grip and the car is going towards the outside of the corner tail first.

Tight is the condition before push, when the steering wheel feels "heavy" ... is harder to turn ... but the front tires have not lost grip yet.

Free is the condition before loose, when the steering in the corner is easier because the car has "help" turning with the rear tires in a slight "glide" condition.

Good Grip is another term for "balanced" or "neutral" handling condition ... meaning both the front & rear tires have good traction, neither end is over powering the other & the car is turning well.

Mean = My slang term for a car that is bad fast, suspension is on kill, handling & grip turned up to 11, etc., etc.

Greedy is when we get too mean with something on the car, too aggressive in our setup & it causes problems.

Steering Turn-In is when the Driver initiates steering input turning into the corner.   

Steering Unwind is when the Driver initiates steering input out of the corner.

Steering Set is when the Driver holds the steering steady during cornering. This is in between Steering Turn-In & Steering Unwind.

Roll Thru Zone = The section of a corner, typically prior to apex, where the Driver is off the brakes & throttle. The car is just rolling. The start of the Roll Thru Zone is when the Driver releases the brakes 100%. The end of the Roll Thru Zone is when the Driver starts throttle roll on.

TRO/Throttle Roll On is the process of the Driver rolling the throttle open at a controlled rate.

Trail Braking is the process of the Driver braking while turning into the corner. Typically, at the weight & size of the cars we're discussing here ... the Driver starts braking before Steering Turn-In ... and the braking after that is considered Trail Braking. This is the only fast strategy. Driver's that can't or won't trail brake are back markers.

Threshold Braking = The Driver braking as hard as possible without locking any tires, to slow the car as quickly as possible to the target speed for the Roll Thru Zone. Typically done with very late, deep braking to produce the quickest lap times.



---------------------------------------------------------------------------------------------------------------------------------------- 

16 CRITICAL RACE CAR DESIGN CONCEPTS:

A.   One of the most important design factors is utilizing all four tires on the track surface for maximum possible adhesion. Shaker Rigs (6, 7 & 8 post rigs) exist to help race car designers, teams & engineers maximize tire contact & loading to the track surface. As a general rule, anything that reduces contact patch and/or tire loading is our enemy & anything that increases contact patch (up to optimum) and/or achieves optimum loading of all four tires is our friend.

B.   Weight is our enemy. Lighter race cars do everything better. They turn better. They accelerate better. They decelerate better. They even crash better (safer). They stress all the components less. Building a lighter car allows us to run less heavy duty, lighter suspension components reducing unsprung & rotating mass ... leading to an even lighter, faster race car. Every ounce matters if you are serious about winning.

C.   Center of Gravity (aka CG ... aka weight mass) matters ... a lot. The mantra of oval track race car builders when it comes to race car weight is "low, light & left." (More left side weight helps cars turning left.) For road race cars it is "low, light & centered." The goal is to have the lightest race car ... weigh the exact same on all four scales ... with the majority of the mass (CG) low in the car & centered in the cockpit.

When the race series or class has a weight minimum, the Racers that build the car as light as practical, then places weight (lead, steel, tungsten) near the center of the car, down low ... will produce a faster, better handling, safer race car.

D.   When we design a race car with a lower center of gravity, it is much easier to drive & can be much faster. A lower center of gravity allows the race car to run flatter through the corners, working all four tires better ... more grip ... more corner speed. A lower center of gravity allows the race car to pitch less (dive & rise) under braking & acceleration, working all four tires better ... more grip ... more corner entry & exit speed. A lower center of gravity makes the race car more stable, higher grip & easier to drive.

E.   If we carelessly design a race car with excessive weight (mass) outside the axle centerlines, we're asking for a scary, ill handling, even dangerous handling, race car. Excess weight ahead of the front axle centerline will make the front end of the car swing out when we exceed total tire grip. Big push (understeer) & then nose hard into the outside barrier.

Similar in the rear. Excess weight behind of the rear axle centerline will make the rear end of the car swing out when we exceed total tire grip. Hard loose condition (oversteer) & then back hard into the outside barrier. Designing the race car with as much of its needed mass inside the axle centerlines is critical.

F.   Track width is CRITICAL. Racing sanctioning bodies know this & enforce track width rules diligently, because all knowledgeable Racers know that even a small increase in track width can provide a significant advantage. Very similar to having a lower center of gravity ... having a wider track width allows the race car to run flatter through the corners, working all four tires better ... more grip ... more corner speed. A wider track width makes the race car more stable, higher grip & easier to drive.

With exception for tight, narrow autocross courses, designing the race car with the widest track width possible is the goal. Widening the car body, or building a wider car body, to achieve the maximum track width is an advantage. A wider track width makes the race car more stable, higher grip, with more corner speed & easier to drive.

G.   With the lowest CG possible, the roll centers also need to be low. Ideally the front roll center is at 0" ground level in full dive at threshold braking. The rear roll center needs to be as low as is practical, while producing a roll axis that is optimum for the particular car to have neutral, balanced, high grip handling through all corners of the course.

H.   Unsprung weight is everything not supported by the springs. In the front this includes half the control arms, tie rods & shocks & all of the tires, wheels, lugs, brake rotors, calipers, mounts, brake shrouds, uprights & hubs ... plus a portion of the brake cooling ducting. If we have IRS in the rear, the list is the same. If we run a straight axle rear, the list includes half the suspension links & shocks & all of the tires, wheels, lugs, brake rotors, caliper, mounts, brake shrouds, rear axle & hubs ... plus a portion of any brake cooling ducting.

Lighter unsprung weight allows the suspension to react & respond quicker to irregular track surface input, providing a higher % of loaded tire contact & grip. Lighter unsprung weight allows the suspension to react & respond quicker to Driver inputs & increases what the Driver feels in the race car.

I.   Of the unsprung weight, the tires, wheels, lugs, brake rotors & hubs are ROTATING WEIGHT. Reducing rotating mass is even more critical than reducing unsprung weight. Accelerating & decelerating a heavier rotating mass take much more time. Said another way, lightening the rotating mass makes the car accelerate & decelerate quicker, producing quicker lap times.

J.   The design structure of every component affects how well that component handles the forces inflicted upon it. The challenge is building lightweight chassis & components without having failures, or reduction in grip due to flex.

K.   The degree of chassis rigidity ... and where it is ... needs to be designed into the car from the start. If a race car chassis is too flexible, the race car will have less grip, be less responsive to tuning changes & have a wider tuning sweet spot. If a race car chassis is too rigid, the race car will have more grip, be more responsive to tuning changes & have a narrower tuning sweet spot.

Race cars that are heavier, more powerful and/or capable of higher cornering g forces ... require more rigidity for optimum track performance. Race cars that are lighter, less powerful and/or capable of lower cornering g forces ... require less rigidity for optimum track performance.

L.   Where the rigidity is designed into the chassis matters as well. Drag cars load the rear suspension significantly more than the front, so the rear of the chassis needs the majority of the chassis rigidity. Road race & oval tracks race cars load the front suspension significantly more than the rear, so the front of the chassis needs the majority of the chassis rigidity. Chassis rigidity designed into the car, needs to be tailored to the direction & location of forces seen dynamically.

M.   Aero drag matters in road racing, but less than you may think. In high powered race cars on road courses, aero downforce is way more important than how much aero drag the race car has. The road race car that has more aero downforce, even with a bit more drag, will be the superior performer. With that said, we don't want unnecessary aero drag.

We want to eliminate & reduce all the aero drag possible, just not to the point of sacrificing aero downforce or track width. Yes, a wider track width & wider front end will create more frontal area & aero drag. The performance advantage of track width trumps aero drag on road courses.

The exception, to these aero rules, is super low powered cars where aero drag is more of a hinderance.

N.    The suspension strategy that includes the target ride height, dive travel (under braking) & roll angle (when cornering) needs to be decided BEFORE the chassis & suspension are designed. There are a variety of reasons why, but the simple ones are ground clearance & camber gain.

If we design an optimal high travel suspension, for example 3"-4" of dive, we may utilize long control arms to slow the camber during dive. This way we can run optimal static camber & achieve the optimal camber gain. If we later decide to run a low travel suspension, for example 1"-1.5" of dive, the long control arms reduce the amount of camber gain can achieve. This problem would require us to run significantly more than optimal static camber, to arrive at the optimal camber. Conversely, we'll have the reverse problem if we start with a low travel design of shorter control arms & decide to run a high travel strategy ... too much camber gain.

On a different note, we may start with a low travel strategy, for example 1"-1.5" of dive, with a 2.5" ride height & later decide we want to run a high travel strategy, for example 3" of dive. The 2.5" ride height back at the firewall isn't the problem. The 2.25" height we designed the FACL crossmember on the front clip is the problem. If we knew we're going higher travel to start, we would raise the front clip (so to speak) in the design phase, so the FACL crossmember allows that travel.

O.   Stiction & friction choices are not often thought about during the design process. But those decisions are often made during design & can be hard to change. Suspension bushings for example. If the chassis & control arms are designed for conventional wide bushings, deciding later to reduce stiction & friction with rod ends can be troublesome. Same with ball joints. Decide this early on.

P.   Safety is often thought of as cage design, seat configuration, harnesses, suits, helmets, HANS & nets. These are all good to decide on beforehand as well, for increased protection in a crash. But spindle, hub & bearing failure cause more crashes than any other part on the car.

Race cars that are heavier, more powerful and/or capable of higher cornering g forces ... create higher load on the critical spindle, hub & bearing components. To PREVENT crashes in the first place, work out the load ratings of our spindle, hub & bearing with a safety factor built in. 

20 CRITICAL HANDLING CONCEPTS:
1.   A car with heavier front weight bias, can go no faster through a corner than the front tires can grip. Balancing the rear tire grip to the front ... for balanced neutral handling ... is relatively easy ... compared to the complexities of optimizing front tire grip.

2.   What we do WITH & TO the TIRES ... are the key to performance. Contact patch is the highest priority, with how we load the tires a close second.

3.   Geometry design, settings & changes to need to focus on how the tires contact the road dynamically & are loaded.

4.   Tires are the only thing that connect the race car to the track surface. Tires play the largest role in race car performance. Rubber in tires hardens rapidly from the day they come out of the mold. Don't run old tires ... unless you want to learn how much it costs to repair race cars. The absolute best performance gain we can make to any race car is fresh, matched tires.

Matching the tires in rubber cure rate, durometer, sizing & sidewall spring rate is key to eliminating handling gremlins that make no sense. The grip level tires are capable of are based on these factors, regardless of tread depth! If the front and/or rear tires aren't matched, we will have different handling issues turning left & right.

5.   After the car is built, tires are selected & the geometry is optimum ... most chassis fine tuning is to control the degree of load transfer to achieve the traction goal & handling balance. Dynamic force (load & load transfer) applied to a tire adds grip to that tire. With the exception of aerodynamics, load transfer from tire(s) to tire(s) is the primary force we have to work with.

6.   The car's Center of Gravity (CG) acts as a lever on the Roll Center ... to load the tires ... separately front & rear. Higher CG's and/or lower RC's increases Roll Angle, but loads the tires more. Lower CG's and/or higher RC's decrease Roll Angle, but load the tires less. Getting the front & rear of the car to roll on an optimum roll axis is desired. Getting them to roll exactly the same is not the goal, because ...

7.   Perpetual goal is to achieve maximum grip & neutral, balanced handling simultaneously through all the corners of the course. To do requires reducing the loading on the inside rear tire (to a degree) ... then increasing the loading of the inside rear tire (to a higher degree) for maximum forward bite on exit. So, on entry & mid-corner, the car needs to roll slightly less in the front to keep both front tires engaged for optimum front end grip, while allowing the car to roll slightly more in the rear to disengage the inside rear tire, to a small degree, to turn better.

For optimal corner exit, the car will have more roll in the front & less in the rear to re-engage the inside rear tire to a higher degree than it was on entry & exit, for maximum forward bite (traction) on exit. This difference is called diagonal roll. This amount differs as speeds & g-forces differ.

8.   Modern day tuners do not use the RC height as the primary means of controlling Roll Angle. We use the suspension tuning items as our priority tools to control Roll Angle. We use the RC priority to load the tires optimally. So, to achieve the optimum balance of Roll Angle & working all four tires optimally ... this all has to work with our suspension ... springs, anti-roll bars & shocks ... and track width ... to end up at the optimum Roll Angle for our car & track application.

9.   Sway Bars primarily control how far the front or rear suspension (and therefore chassis) "rolls" under force, and only secondarily influences the rate of roll. Softer bars allow increased Roll Angle & more load transfer from the inside tires to the outside tires. Stiffer bars reduce Roll Angle, keeping the car flatter & less load transfer from the inside tires to the outside tires.

10.   Springs primarily control how far a suspension corner travels under force, and only secondarily influences the rate of travel. Shocks primarily control the rate of suspension corner travel under force, and only secondarily have influence on how far.

11.   Springs, shocks & sway bars need to work together "as a team." Our springs' primary role is controlling dive & rise, also contribute significantly to the car's roll resistance. Our anti-roll bars (sway bars) primary role is controlling roll, but do contribute minutely to dive & rise. Our shocks primarily role is controlling the RATE of these changes, primarily during race car transitions from Driver input, such as braking throttle & steering. They all affect each other, but choose the right tool for the job & we create a harmonious team.

12.   The front tires need force, from load transfer on corner entry, to provide front tire GRIP. Too little & the car pushes ... too much & the car is loose on entry. The rear tires need force, from load transfer on corner exit, to provide rear tire GRIP. Too little & the car is loose ... too much & the car pushes on exit.

13.   Springs & Sway Bars are agents to load the tires with the force needed to produce maximum grip. Stiffer springs produce the needed force with less travel, whereas softer springs produce the needed force with more travel. Stiffer Sway Bars produce the needed force with less chassis roll, whereas softer Sway Bars produce the needed force with more chassis roll. The tire doesn't care which tool provides the loading force. Ultimately, they combine to produce a wheel load. Our role is to package the right combination for the target dive travel, chassis roll angle & wheel loading we need.

14.   Softer front springs allow more compression travel in dive from braking & therefore a lower CG, more front grip & less rear grip. Stiffer front springs reduce compression travel in dive from braking & therefore a higher CG, less front grip & more rear grip. There are pros, cons & exceptions to these rules.
 
15.   Too much Roll Angle overworks the outside tires in corners & underworks the inside tires. Too little Roll Angle underworks the outside tires in a corner. Excessive Roll Angle works the outside tires too much ... may provide an "ok" short run set-up ... but will be "knife edgy" to drive on long runs. The tires heat up quicker & go away quicker. If it has way too much Roll Angle ... the car loses grip as the inside tires are not being properly utilized.

16.   Too little Roll Angle produces less than optimum grip. The car feels "skatey" to drive ... like it's "on top of the track." The outside tires are not getting worked enough, therefore not gripping enough. Tires heat up slower & car gets better very slowly over a long run as tires Gain heat.

17.   A lower chassis Roll Angle works both sides of the car's tires "closer to even" ... within the optimum tire heat range ... providing a consistent long run set-up & optimum cornering traction, providing the fastest, most drivable race car.

18.   Higher Roll Angles work better in tight corners but suffer in high speed corners. Lower Roll Angles work better in high speed corners but suffer in tight corners. The goal on a road course with various tight & high speed corners ... is to find the best balance & compromise that produces the quickest lap times. Smart Tuners use Roll Centers & Aero to achieve this.

19.   Tuning is NOT linear two directions with stops at the ends. A car can be loose because it has too little Roll Angle in the rear & is not properly working the outside rear tire. A car can be loose because it has too much Roll Angle in the rear & is not properly working the inside rear tire.

A race car can be pushy because it has too little Roll Angle in the front & is not properly working the outside front tire. A race car can be pushy because it has too much Roll Angle in the front & is not properly working the inside front tire.

20.   Don't forget the role & effects the engine, gears, brakes, Driver & track conditions each have on handling.


I'm a veteran racer & race car designer committed to staying on the leading edge of racing technology, for one reason, to win. Everything else is BS. I'm only semi-retired because I still love helping build bad ass race cars.

While engineering, geometry, trigonometry, physics & more affect everything in race cars, I do my best to make the complicated easier to understand. One of my racing friends said, "Ron is a race car designer that did not go to engineering school, so he speaks car guy."

Ron Sutton

Race Car Designer
Administrator
*****
Full Member
Posts: 186
Location: USA
State: Florida
City: Ocala
Logged
#1
OKAY ... Let's Talk Front Suspension & Steering Geometry Fundamentals!

First, all 20 of the Critical tuning Concepts above matter here, but the red ones matter more as we discuss front suspensions & steering. Let's Start with Critical Tuning Concept #1, Optimizing the front tire Contact Patch loading dynamically.

What do we mean by "dynamically?" We are of course, talking about the car running on track.  It is almost never in a static state. Due to acceleration, deceleration, braking forces, aero forces, steering forces & g-forces, the car's "state" is constantly changing.  Where do we care about front end grip the most?  When we're in the dynamic state of braking & turning. The car is in pitch & roll, so diagonal roll, with the outside front corner loaded most ... and the inside rear tire loaded the least.

Frankly, I base all setup decisions based on the key "dynamic" situations of the race car. We don't care what the setting is in our garage or race shop. We only care what it is when our butt's puckered at threshold braking, turning into turn #6 at WeBeFast raceway. I use software to check the Dynamic Camber & Ackerman in dive & roll ... at steering angles in 5° increments from 5° to 25° (outside front tire). From experience, I find 15° of steering to be the most important to tight corner performance. So, we'll see me reference that often.

Of course we'll need to know how much our car will dive & roll ... based on our strategy. Utilizing the software, I "can" calculate how much someone's car will dive & roll with their current setup. But I usually do it the other way around. I "decide" how much dive & roll I want, then work into the spring rates, sway bar rates & Roll Centers to achieve my target dive & roll numbers.




Achieving the optimum tire contact patches dynamically:




Most everyone knows Camber, Caster & KPI affect each other together, but most don't really understand HOW they affect each other & how we can get them to work together as a team. I'll do my best to explain it, but we'll need to peel the onion one layer at a time, so bear with me.

A. Ideally, for braking we would have zero Camber, but that's not practical because ...
B. In the nano second we turn the steering wheel in, we need a high degree of Camber on the outside front tire.
C. And we want the Camber to dynamically increase as we turn the steering more ... which is very doable with the right amount of Caster.

The Braking Camber goal of 0° & the "Turn-In" Camber goal of 3°+ ... conflict. "Turn-In Camber" is the priority. So, we need our static camber & full dive camber gain to provide us with -3° of camber (or more depending on tire sidewall height)with the wheels in a straight line. So, when the Driver provides that initial steering input to turn into the corner, we have full front grip. Then, as the Driver continues to provide additional steering input, up to the point of the steering "setting" we will need that dynamic camber to increase.

In my experience I've found at 15° of steering angle & around 2g lateral load (road courses) optimally we need -5.0° to -5.5° dynamic camber for 4" sidewalls & 18" wheels. With taller sidewalls, typically with smaller OD wheels, that optimum is going to be up in the -6.0° & higher range. Read on to learn how I arrive at the optimum front end combination.

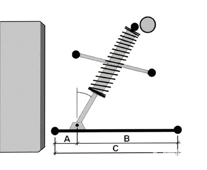
KPI was a term coined back in the day of solid front axles when spindles actually used king pins. Steering Angle Inclination is a more correct modern term & is calculated simply by running a theoretical line through the upper & lower ball joints & comparing that angle to the actual spindle pin the hub rotates on (rolling axis in the photo). See illustration. KPI & SAI mean the same thing, but I grew up calling it KPI, so KPI it is.



Think of Caster as "Dynamic Camber" ... since Caster has no affect on angle of the tires & wheels ... until we turn the steering. Then Caster is tipping the top of BOTH tires towards the inside of the corner we're turning into (Good).

Tech Tip 21: If we draw a line through our upper & lower ball joints, to the ground, that is our car's steering axis. Our car's scrub radius is the distance from the steering axis to tread centerline at ground level.
If the steering axis intersects the center of our tread, that would be"Zero Scrub Radius." The tire would literally PIVOT in the center of the tread as the car is steered, providing more grip when turning.

Most production cars have 3"-6" scrub radius & this causes the tire contact patch to "scrub" as the car is steered. This is literally ripping the tread around the steering axis further inboard (which is why you hear the tire squeal), versus simply pivoting at the center of the tread. This dramatically reduces the tire's grip on tight corners. All RSRT front suspensions are low, or zero, scrub radius ... for more grip on tight corners!




One purpose of KPI angle is help make the Scrub Radius lower. We can look at the illustration below & imagine how big the Scrub Radius would be if the KPI was straight up & down. If the front tire stays in the same location more KPI angle makes the Scrub Radius smaller. Less KPI angle would increase the Scrub Radius. KPI has other pros & cons.

A bigger Scrub Radius means the tire is farther from the steering pivot ... making the arc bigger that tire has to make in order to pivot. In track conditions, at speed, with the tire at its limit of grip ... when we turn the wheel more, we are "torquing" the tire tread around a big axis to turn. This "rips" the tread across the pavement, causing the tire to lose a degree of grip. The bigger the Scrub Radius ... the higher degree of grip is being lost when we turn the steering. A zero Scrub Radius means the center of the steering pivot & the center of the tire tread are the same. This pivots the tire right in the center of the
tread reducing lost traction to the minimum.

Many Racers ask if the camber we dial into the setup affects scrub radius.  It does, but is very minor, because as we add negative camber both the lower ball joint & contact patch of the tire move outward.  So, don't lose any sleep over this. 





We can clearly see the DISTANCE between the KPI/SAI line & the wheel/tire combo doesn't change much.


Think of KPI as reverse Caster that affects the "Dynamic Camber" ... since it also has no affect on the angle of the tires & wheels ... until we turn the steering. But unlike Caster, it is not tipping both tires towards the inside of the corner we're turning into. KPI is tipping the top of the outside tire out towards the outside of the corner we're turning into (BAD) and tipping the top of the inside tire in towards the inside of the corner (Good).

When the KPI/Caster Split favors the KPI ... the tire & wheel, on the outside of corners, goes into a state of positive Camber (BAD) ... rolling over on the outside part of the tread and sidewall of the tire ... with the inside part of the tread becoming unloaded. Basically, at this point, the actual tread making contact with the pavement (contact patch) gets narrower, making it incapable of maintaining the speed it was capable of an instant earlier, when it had a full contact patch.

Now let's talk about the tire on the inside of the corner. Some cars roll so much the inside suspension goes into a "droop" or state of extension ... and if that car has negative Camber Gain built in ... the droop actually helps the inside tire stand straighter. For cars that don't roll as much ... and that compress the suspension on the inside tire & wheel when cornering, the negative Camber Gain on the tire on the inside of the corner is tilting that inside tire the wrong way. It is rolling over on the inside part
of the tread and sidewall of the tire ... with the outside part of the tread becoming unloaded. Also making the contact patch narrower, making it incapable of maintaining the speed it was capable of an instant earlier, when it had more contact patch.

So, if our front tires that were already at their limit of grip ... and they just lost a significant amount of contact patch & essentially got narrower ... they lose front traction ... creating an instantaneous push or understeer condition.

The amount of Dynamic Camber loss is minimal with slight amounts of steering input on large sweeping corners, but grows exponentially worse with higher rates of steering input (front wheel steering angle) on tighter corners. More Caster would help both situations ... creating more Dynamic Camber the correct way for both tires ... keeping the tire contact patches flatter on the track surface. But how much is enough? Read on.

OEM Factory spindles KPI are often in the 8°+ range. A lot of 60's to 90's GM spindles have 8.75° KPI. The C5/C6/C7 spindles are 8.66° KPI. Most Ford muscle car spindles are 8°. Aftermarket spindles vary depending on their goal. The Wilwood dropped Mustang II "Pro Spindle" is a whopping 11°.  Wilwood's Truck Pro Spindle & the ATS spindle from Speedtech both have 8.0 degrees of KPI.

Racing spindles KPI run the gamut of angles. In oval track stock cars where the control arms are pretty average in length & the wheels are out wide ... making the Scrub Radius quite large ... oval Racers typically run spindles with 5°-12° of KPI ... and almost always with split more KPI on the LF than RF. In Trans Am & other road race cars where the control arms are longer & the wheels have a lot of back spacing ... making the Scrub Radius smaller ... Racers typically run spindles with 3°-5° degrees of KPI. All of RSRT's race & track spindles have 5° KPI. More on that later. 

For our conversation ... and math purposes ... let's use a spindle with 5° of KPI as our sample. If we were to set both the Caster & Camber at zero ... and rotated the spindle 90° each direction ... the difference would be 2x the KPI angle of 5° ... so in this case 10°. We know the wheels don't turn anywhere near 90°, but this example makes everything more clear.

Please humor me & follow along closely, because I'm about to share something that is one of the most overlooked keys to proper cornering set-up. We will account for the ACTUAL steering turning radius later. If we rotate the spindle 90° toward the front (like the wheel is turning on an outside corner) the tire & wheel experience 5° of Camber loss (goes into positive Camber). Bad ... very bad for the outside tire of a corner.

If we rotate the spindle 90° toward the rear (like the wheel is turning on an inside corner) the tire & wheel also experience 5° of Camber loss (goes into positive Camber). But this good for the inside tire of a corner. Obviously, we are not turning the wheel anywhere near 90° in the real world, so don't lock in on the numbers "too much" ... just the concept.

So, for our purposes of achieving optimum contact patch, KPI is our friend on Inside Wheel/Tire & our enemy on the Outside Wheel/Tire.  Remember that.

Caster is different. If we set Caster at 5° positive (top to the rear) & leave KPI out of the equation, as if we had a spindle with zero KPI ... and we rotate the spindle 90° toward the front (like the wheel is turning on an outside corner) the tire & wheel experience 5° of Camber Gain (negative Camber). The right direction for the outside tire in a corner. If we rotate the spindle 90° toward the rear (like the wheel is turning on an inside corner) the tire & wheel experience 5° of Camber loss (goes into positive Camber). And this is the right direction for the inside tire of a corner.

So, for our purposes of achieving optimum contact patch, Caster is our friend on Inside Wheel/Tire AND  the Outside Wheel/Tire.  Remember that.

Here's the most important piece of info to know at this point. It is the first & most important key to getting the front tires to use their full contract patch when cornering ... increasing front end grip & turning speed. Drum roll please ...

Caster helps offset (reduces) the KPI effect on the wheel & tire on the outside corner ... and compounds (adds to) the KPI effect on the wheel & tire on the inside corner. Both good.

Read that again. It's very important.

This is called KPI/Caster Split. Caster helps offset the negative effects of the spindle KPI angle on the outside front wheel ... and Caster compounds & adds to the advantages of the KPI angle on the inside front wheel. When the degree of KPI is greater than the degree of positive Caster, the outside wheel is going to lose negative Camber, as the steering is turned. Not good. 

The more the KPI/Caster Split is favoring the KPI, the worse the problem. This is true, unless the car has been set up with a LOT of negative Camber to overcome the high degree of KPI. And that's what old school Racers did ... run a LOT of negative Camber. We know that today.

On the other hand, if the KPI/Caster split favors the Caster ... like we are doing here in the following example ... meaning the Caster is greater than the KPI, the outside wheel is going to Gain Camber as the steering is turned, creating a flatter, better tire contact patch. The inside wheel also gets Cambered the correct direction (for the inside wheel) and the contact patch of both front tires stay flatter to the track surface, have more grip, better turning & higher corner speeds.

Now let's play out an example of how Caster & KPI can work together for an optimum combination.

Sooo ... if we set the car up using spindles with 5° of KPI and 10° of Caster ... and we rotate the spindle 90° degrees toward the front (like the wheel is turning on an outside corner) the tire & wheel experience 5° of negative Camber Gain.  If we rotate the spindle 90° toward the rear (like the wheel is turning on an inside corner) the tire & wheel experience 15° of positive Camber Gain.

Shorthand, that would look like:
Outside Front Wheel at -5° Camber
Inside Front Wheel at +15° Camber
Nuts of course, but we are just starting to peel the layers of the onion. 

Again, we are not turning the wheel anywhere near 90° in the real world. Because KPI & Caster are not linear in their rotation, the math is only accurate at 0° & 90° rotation, but that doesn't change the concept, it just makes the math harder. Frankly I don't use the trig formula. I use Performance Trends Suspension Analyzer to see the Dynamic Camber in both numbers & 3D drawing.



Steering Angle is the next layer of the onion to unpeel. When we involve steering angles, we need to know the exact steering angle for specific corners. The good news is ... when we run tighter corners requiring more steering angle than 15 degrees ... the Caster increases the Dynamic Camber to help the tires maintain flat contact patches. I use Performance Trends Suspension Analyzer to plug in all the info & know exactly what Dynamic Camber I have at different steering angles & different Camber Gain & different suspension travels. On track, we're turning somewhere from 0° to 25°. Usually, 15° or less on road courses. For example sake, let's go with 15°. 

At this early point in peeling the layers of the onion ... taking into account ONLY 5° KPI & 10° Caster & 15° of wheel angle ... now we have:
Outside Front Wheel at -2.47° Camber 
Inside Front Wheel at +2.74° Camber 



You're probably going "Hmmmm" ... but we don't have anywhere near the whole picture yet.
We have a lot of other geometry to factor in. Remember, we're peeling this onion a layer at a time, so we'll get to Camber Gain in dive, chassis/body Roll Angle & Static Camber in steps. Camber Gain & chassis Roll Angle are next. Chassis Roll Angle hurts the contact patch of both tires. Camber Gain (towards negative) helps the contact patch for our outside tire & hurts the contact patch for the inside tire.

Chassis/Body Roll Angle:
Stock production cars have a HIGH Roll Angle when pushed to their limits. Older cars more so & newer cars less. Pro level road race cars running obviously have very low Roll Angle. In most cases, if we're road racing, we want to be at max Roll Angle of 1° or less. Some cars run as low as 0.5° Roll Angle at max G's. The only reason we'd be OK with higher Roll Angles, would be if the class rules limited us from doing so. But all the competitors would be in the same boat. 

But if we're talking track cars for track day fun purposes, we'll probably want to be in the 1° to 1.5° Roll Angle range. The reason for that is the less we allow the car to roll, the faster it is, but the tuning sweet spot gets much narrower. Allowing a little more roll, widens the handling sweet spot. Our call.

Because higher Roll Angles are an enemy of proper geometry & optimum contact patch ... for this conversation let's say we're running a Track Car with a basic high travel/low roll suspension setup ... 3" of dive & 1° chassis/body roll in the corners. Obviously, any chassis/body roll is to the outside of the corner ... and therefore hurtful to the contact patch & angle of both wheels & tires.

Peeling the next layer of onion off, If we add 1° chassis/body Roll Angle into our numbers above, now we have:
Outside Front Wheel at -1.68° Camber
Inside Front Wheel at +1.83° Camber
Out to lunch, but we have a more layers of the onion to peel. 

Camber Gain:
As mentioned above for this conversation, let's say we're running a Track Car with a basic high travel/low roll suspension setup ... 3" of dive & 1° chassis/body roll in the corners. So, now let's add in our 3" of dive in the front & see what does that do for us at this level of "onion peeling"?

By peeling another layer of onion off, If we keep the 1° chassis/body Roll Angle & add 3" of Dive into our numbers above, now Dynamically we have:
Outside Front Wheel -3.92° 
Inside Front Wheel +0.61° 
Not optimum yet, but we're going the right direction & we're not done yet. 

Some may ask how our outside wheel Camber jumped from -1.68° to -3.92° ... negative Camber Gain of 2.24° ... when we only saw 1.83° negative Camber Gain in the shop, or on the software, in 3" of dive.  The answer is Camber Gain increases with Caster from steering.  Stated simply, the Caster does not help Camber Gain when the wheels are straight.  But they do when turned, and in this example the wheels are turned 15° so the Caster effect on Camber Gain is significant. The additional Camber Gain was -0.32° with the wheels turned 15°.

The next layer of the onion is Static Camber:
We need Static Camber ... to help with initial steering turn-in responsiveness. Just don't get greedy. In road racing, track cars or autocross where we're turning left & right, Static Camber is like Camber Gain. It helps the contact patch on the outside tire & hurts on the inside tire. Since this example is a Track Car, not a Road Race Car, let's add -1.0° of Static Camber. Now with Static Camber added ... with our car hard in the corner ... suspension in 3" dive, 1° Roll Angle, outside front wheel turned 15 degrees for a tight corner ...

Add -1.0° of Static Camber and ... Dynamically we have:
Outside Front Wheel -4.95° (Almost Perfect) 
Inside Front Wheel -0.42° (Not Good)
Not optimum for both tires yet, but we're not done yet.

For conversation sake, let's say that around -5.0° DYNAMIC CAMBER works best on the outside wheel at 15°, for this particular tire, car, suspension combination.  And, we want to get the inside wheel as close to 0° Dynamic Camber as possible, if we can. Looking at the numbers above, we can see if we simply add a little more negative Static Camber, or even Camber Gain, we'll get the outside tire perfect, but make the inside tire a little worse.

For Example only, let's bump Static Camber to - 1.1° and ...
Outside Front Wheel -5.05 degrees (Almost Perfect) 
Inside Front Wheel -0.49 degrees (Worse)
Still not optimum for both tires yet.  So just adding Camber is not the solution. 

FYI:  If we're not able to make small precise camber changes, we may want to look at having a better assortment of camber shims & don't be afraid to mill custom ones to get our car spot on. In this example we're playing with, 0.178" of shim is 1°. So, about .018" is 0.1°. In my race shops, if we find some combination of camber shims won't get us to our ideal target, we just mill a couple camber shims to the correct height.

On this particular XR5 "Budget" Track Car, with our Star System control arms that use rod ends, the changes have to be in .031" increments (about .17°). For the sake of our conversation here, we're going back to -1.0° camber, with -4.95° Dynamic Camber on the OFW & -0.42° on the IFW.

The Last Layer of the Onion is ACKERMAN!
Now, let's peel the final of the onion for this conversation ... Ackerman. All of the numbers above have been with zero Ackerman.

I call the combination of Static Toe, Toe gain/loss from Bump Steer and Ackerman ... "Dynamic Ackerman" ... which is the difference of the two front tires when the suspension is in full dive, car at Roll Angle & steering turned. That's what you see below.

The front suspension I've been using for our examples is my XR5 Track-Warrior. It's my least expensive Build-Our-Own Track-Warrior package for 18" wheels. That setup runs 2.2° more steering (Ackerman) on the inside wheel, Dynamically in dive & roll, compared to outside wheel at 15° of steering.



With -1.0° of Static Camber and the Ackerman calculated in ... Dynamically we have:
Outside Front Wheel -5.00°
Inside Front Wheel -0.02°
Now that is as perfect as we could hope for, for the tire we're running. Don't lock in on these numbers for our car or any other car. This is based on a lot of factors that differ.

To clarify, we should not just pick an amount of Ackerman (2.2° in the case of this example) out of the air. Nor should we play with the Dynamic Ackerman to get the Dynamic Camber we want.  The amount of Dynamic Ackerman we utilize should be based SOLEY on what the inside wheel needs to achieve the optimum tire slip angle for maximum grip.  That is covered in a section coming up.

Camber is not our enemy. It simply should not be the only tuning tool we work with in the front. Caster, KPI, Ackerman & Camber ... Static & Dynamic ... all need to be brought into the formula in the right amounts to achieve optimum tire contact patch on both front tires ... dynamically on track. And of course, we need to take into account dive, roll & steering angle.

All of them are important, but the critical KPI/Caster Split is often not fully understood. Remember the KPI/Caster Split concept ... if the Caster is greater than the KPI, the outside wheel is going to Gain Camber as the steering is turned, creating a flatter, better tire contact patch. The inside wheel also gets Cambered the correct direction (for the inside wheel) and both front tires have more grip, better turning & higher corner speeds. The question should be how much more Caster then KPI do we need to achieve our tire contact patch goals.

Regardless of how we get there ... all of these geometry pieces need to work together in harmony to achieve full, optimum contact patches for both front tires in hard cornering situations ... for optimum cornering grip & speed.

It should be very clear now why getting advice on one setting that worked for a buddy's car ... without knowing the whole picture ... can be misleading. As a tuner, I couldn't imagine setting the Caster without knowing the spindle KPI & the car's Camber Gain ... and then of course testing on track with tire crayon on the edges every run and taking tire temps.

Side note: Ackerman steering was invented long before cars.  It utilizes the design of the steering arms & linkage to turn the inside wheel of a vehicle at a tighter, proper, radius compared to the differing radius of the outside wheel.  This is helpful in wagons, trailers, carts, cars, trucks, etc., to prevent dragging or pushing either tire. This is NOT why we use it in race cars.  We use a combination of static to



Summary: It's been said a zillion times. It's the whole package, not one part or one setting. The spindle KPI, Static Camber, Static Caster, Static Toe-Out, combined with the Ackerman, bump steer gain, caster gain & camber gain ... all combine together to get our race car to have optimum contact pateches in dynamic race conditions with dive, roll & steer. All we have to do is work our asses off until our brains melt to achieve the goal. LOL

I'm a veteran racer & race car designer committed to staying on the leading edge of racing technology, for one reason, to win. Everything else is BS. I'm only semi-retired because I still love helping build bad ass race cars.

While engineering, geometry, trigonometry, physics & more affect everything in race cars, I do my best to make the complicated easier to understand. One of my racing friends said, "Ron is a race car designer that did not go to engineering school, so he speaks car guy."

Ron Sutton

Race Car Designer
Administrator
*****
Full Member
Posts: 186
Location: USA
State: Florida
City: Ocala
Logged
#2
Next, Let's Cover Critical Tuning Concept #2, Optimizing the Front Suspension Geometry for Dynamic Conditions

When I'm designing a front suspension with no rules on what spindle we can run, I design the spindles & have them built. Then I'm not trying to band aid anything ... and everything else in the front suspension can be designed to compliment that spindle. The KPI I chose to design into a race spindle is strongly influenced by the expected or target Roll Angle of the race car. The higher the Roll Angle, the higher the KPI we want. The lower the Roll Angle, the lower the KPI we want.

With track & road race cars, rolling in the 0.5° to 1.5° range, I have found a 5° KPI spindle works well. Same for autocross if we're only rolling 1.0° to 1.5°. If we were building an autocross car to roll 2.0°, a 6°-7° KPI spindle would work better. Over 2.0° of body/chassis Roll Angle, we need around a spindle with around 8°-9° KPI.

Changing to a lower KPI spindle is not a singular, bolt-on solution. If we only reduce the KPI & nothing else, the Scrub Radius gets larger. We don't want that for road courses & surely not for autocross. When it comes to Scrub Radius, the smaller the better, ideally down to zero dynamically. KPI obviously plays a role in Scrub Radius. The solution is moving the KPI line (the spindle itself) outward, deeper into the wheel. This requires deeper backspaced wheels & longer control arms. All good things.

How do I work out a front end geometry combination?
All of us know that each front suspension geometry setting affects the overall picture ... and to a degree ... each other. We can't look at just one individual setting. We need to look at each geometry factor & the overall package together, in harmony to improve how the tires contact the road dynamically.

Having done this for years, designing, building, tuning & racing a lot of different cars, in just about every type of racing, has given me some firsthand insight into how all these things work. So, now it's a little easier & quicker for me to "get a set-up " into the sweet spot. I have a process that gets me there quickest ... with the least back-n-forth that I'll share.

First ... a word on Scrub Radius:
Zero Scrub Radius with long control arms & deep backspaced wheels is optimum. Some race series rules prevent us from achieving this. If the rules allow, we're running longer control arms & a low KPI spindle with deep backspaced wheels & achieving a very low Scrub Radius. We don't want the Scrub Radius to be zero Statically, because the tire carcass rolls under & moves inward dynamically when loaded hard in the corners. How far it moves & how much scrub we want is discussed later.

Note:  If the racing series rules restrict our LCA choices (like NASCAR) & prevent us getting the ball joints "out there" ... making us choose between track width & Scrub Radius ... we are "usually" going with wheels with less backspacing to achieve the maximum track width allowed by rules ... then running higher KPI spindles to reduce the Scrub Radius as much as we can.

I always cringe when someone says they're going to copy Stock Car stuff for road racing or autocross. We shouldn't focus on Stock Car stuff, because we don't have to live by those rules & suffer the geometry problems they have ... and because we're turning left & right ... we can't use some of their creative geometry fixes.

Many people know I have done a lot of oval track & stock car racing, car designs, geometry optimizations, suspension set-ups, etc. ... but I had way more road racing experience before oval track.

Oval Track Stock Cars have horrible Scrub Radius ... in the 5"-7" range ... not because they want to ... but because of rules limiting control arm length ... but at the same time, allowing for wide track widths. Wider track width trumps Scrub Radius. So, these cars fight midcorner push more than most race cars. The only spindles I'm aware of with 10° KPI ... (but as soon as I post this someone will list 26 different ones) ... are stock car spindles ... which I suggest we avoid.

Again, I want to say KPI is not good or bad ... it's just a tool. If we're running a spindle ... the KPI is what it is ... and we should dial our set-up around it. If we're replacing our spindles ... but not our control arms ... reducing the KPI ... only increases our Scrub Radius. If we're building a front suspension from scratch with no rules or sacred cows ... THEN use deep back spaced wheels & a tight spindle/hub package with low KPI ... so we can run longer control arms.

There is an advantage there ... but it is not from the KPI alone. Scrub radius is not a big deal when the corners are large & sweeping with very little steering angle involved. Scrub radius is a very big deal when the corners are small & tight with more steering angle involved. So, if we're building a stock car for Daytona, it doesn't matter. But if we're building a car for tight road courses ... or especially for autocross tracks ... getting the Scrub Radius low to zero should be a priority.

Make sense?   

I've had people ask me why don't we give up Track Width to achieve a lower or zero Scrub Radius ... but in the big picture ... track width trumps Scrub Radius, in most cases. Everything has its limits & there are exceptions for everything. Tight AutoX courses sometimes favor narrower cars with narrower track widths. But most anything faster than that ... like road courses ... favor a wider track width. When we have no rules or limitations, we're making everything optimum. When rules prevent that, we're shooting for the best overall compromise.

A quick side note on Lateral Scrub is the least of all "scrub evils" so I don't focus on it much. The amount of lateral scrub is worse ... meaning more ... with short control arms & high angle upper control arms ... where the ball joint is significantly higher than the control arm pivot. The most I've seen is 5/16" but I'm sure some scenarios have more.

The amount of lateral scrub is less (better) with longer control arms and upper control arms close to level which is what we want anyway ... for other, more important reasons. Obviously lateral scrub increases with travel. With long arm Trans Am style front suspensions with 4" of travel, we only see about 1/8" of lateral scrub. We can get it to be less if we travel it less.

Lateral scrub is a minor issue for a track car, race car, autocross car, etc. ... because the actual change from lateral scrub happens under straight line braking. When the driver turns into the corner, the track width change has already occurred. If we have a production car in which we're not changing the length of the control arms, but has a lot of UCA angle (with tall spindle and/or taller ball joints) ... we can reduce the lateral scrub by switching to a shorter spindle and/or shorter ball joints. But that's not the primary reason to switch.

Any time we have significant angle in the upper control arms ... we have "jacking effect" in those arms.
What that means in layman's terms is the UCAs have "leverage" to push the frame down. This jacking
force/leverage causes the front of the car to have higher Roll Angle.

If we took two cars with everything identical ... weight, bias, CG, track, spring & bar rate, etc., etc.
... except the control arm angles ... where the first car achieves "X" Roll Center & "Y" Camber Gain with
the UCAs level & the LCAs at an angle ... and the second car achieves the same "X" Roll Center & "Y"
Camber Gain ... but with the UCAs at an angle & the LCAs level ... the second car will have a LOT HIGHER ROLL ANGLE.

This is counter intuitive for most Racers with 60's muscle cars ... because they have been told time &
time again to run taller spindles & taller upper ball joints to get adequate Camber Gain. It's an old school
remedy & it works to get the Camber Gain going the right direction. But like anything, if we do it too
much, it has side effects. A more modern approach is to run longer lower ball joints ... and/or utilize a
spindle that moves the LBJ pad further down ... to add angle to the LCA ... and get the UCA to be closer
to level. This reduces the jacking effect ... and the front of the car runs flatter. (Less Roll Angle)

The lateral scrub reduces too ... but it is a minor change, compared to reducing the jacking effect. With high travel setups, we typically run the UCA flat-ish & design angle into the LCA. This is primarily to reduce camber gain over the high amount of dive travel. But it also reduces lateral scrub, jacking effect & roll angle of the car dynamically. The benefit of reduced lateral scrub is minor. Controlling the jacking effect & roll angle are the primary goals.

Information needed:
To make good, informed decisions for our race car or track car, we need critical information. We need to know the tire & wheel parameters before we start, because these help define the optimum Dynamic Camber needed to optimize the contact patch of BOTH tires, while turning hard on tight corners. Remember, the tire carcass rolls under the outside front tire during cornering. Obviously, a 28" tall tire on a 15" wheel, with 6.5" sidewalls will roll more than a 26" tall tire on an 18" wheel, with 4" sidewalls. Here is a video of a NASCAR Truck at Texas Motor Speedway ... going 185mph into the corner ... with a 28" tall tire on a 15" wheel, with 6.5" sidewalls. Yes, the tire sidewall rubs on the sway bar bolt. Yikes! Thank goodness, we don't see anywhere near this in road racing with lower speeds, 18" wheels & 4" sidewalls.


Another factor is rim width & tire pressure. If we're running a Hoosier 335/30-18 on a 12" wide rim, the optimum tire pressure for full contact patch will be lower, than if we ran that same tire on a 13" rim. Or said another way, the tire pressure for full contact patch will be higher on the wider 13" rim, than it would be on the narrower 12" rim. That tire carcass stretch & additional pressure roll under less, as well as have increased overall grip & quicker response.

We need to estimate (as best possible) how far the center of the tire's contact patch will move inward. Knowing the tire & wheel we're running is a starting point. I have tire test experience on a wide range of tires & have a pretty good database of contact patch movement.

Another key factor we need to know are the g-forces these tires see. Again obvious, but the higher the cornering g-forces, the more the tire will roll under. Another key factor is weight. A heavier car will see more tire roll under (and contact patch center movement) at the same g-force as a lighter car. Whether we're running autocross or road courses, we need to have a basic understanding of the g-forces the new car will create.

Part of that equation is the biggest variable. The Driver. It should be obvious that how hard the driver pushes the car, and how talented they are, will play a big role in how much g-forces we're seeing. This affects tire carcass roll under & therefore what the optimum Dynamic Camber will be. As a chassis designer, I do my best to understand the driver & get a baseline that's close. This is so we can fine tune with small changes versus having to make big changes.

A quick story to drive this point home. I designed a track car setup for a gentleman racer to be a close as possible to ideal. After the first weekend of driving the car, the inside front tire temps were hotter than the rest of the tire. I figured we'd back out some Camber & be great, but it didn't get done before the next outing. After the second weekend of driving the new setup, the temps looked near perfect across the front tires ... and the lap times were quicker. Upon reflection it simply took him two full weekends to get up to speed. If it's a track car, we should adjust the car to the Driver's capabilities. If it is a race car, we should adjust the driver to the car's capabilities.

Frankly, this next part is where I lose some folks, so follow closely & reread if we need. We should not design a race car & setup, not knowing what it is capable of in advance. Many rookie Racers buy or build a car without knowing what suspension strategy to run. To me & most race car designers, that is backwards. I decide what the suspension strategy is going to be beforehand. Otherwise, how will we know what g-forces the car is capable of. How would we know how much tire carcass roll we will end up with?

I need to know that we're building a pro level Road Race Car with 1.58" ride height, 1.85" dive travel, 0.5° Roll Angle, 14.4" CG height, 2600#, 50/50 weight bias, 355/650R18 tires on 13" wide wheels, 67" track width, 900HP, 1600# total downforce, capable of 2.2g ... BEFORE I can create a suspension setup or front suspension parameters. This information guides the entire suspension design & setup.

Now if that car ends up pulling 2.1g or 2.3g, we'll tweak the setup. But if we have no idea, we can't possibly design the front suspension geometry correctly, nor configure the optimum suspension package of springs, bars, Roll Centers, shock valving, etc.

Just the same as I need to know that we're building a fun Track Car with 4" ride height, 3" dive travel, 1.5° Roll Angle, 16.25" CG height, 3000#, 53/47 weight bias, 335/30-18 tires on 13" wide wheels, 65" track width, 650HP, 400# total downforce, capable of 1.7g ... BEFORE I can create a suspension setup or front suspension parameters. This information guides the entire suspension design & setup.

I call this set of information the "Baseline Target." Baseline, because it's where we're starting at. And target because these key points are the targets we're aiming to achieve. Remember "Baseline Target."

In the above examples, I want to achieve -5.5° Dynamic Camber (in full dive, full roll & 1.9g with 15° of steering) with the Pro Level Road Race Car. That will make the Total Camber about -3.2° (under braking, in full dive with no roll & no steering). Whereas I want -5.0° Dynamic Camber with the Track Car. That will make the Total Camber around -3.0°.

So, we need to work out these parameters before we design. Either we or the race car designer and/or setup person(s) need to work out these details. I work this out for at the beginning of every design & setup I've done for the past few decades.

Answer to the question that is on a lot of minds: How can we have more front end travel than ride height? The answer is simple. We're not measuring the two at the same spot. We measure ride height under the middle of the front clip frame "dog legs" on each side. Typically, this is about 1" behind the firewall in the middle of the 2" wide dog leg rails. We measure front end travel in dive, under braking, at the front axle centerline (FACL).

The rear of the car does not dive under braking, just the front. The rear axle centerline (RACL) is the car's pivot axis under braking. So, as the car dives in front, the chassis angle (rake) increases as much as 3°. To achieve this high front travel, the front crossmember is built higher than the dog legs & rest of the chassis, for more ground clearance during dive travel. Ultimately, the ride height at the Dog Legs determine how far the chassis can travel. How much dive that is at the FACL, depends on how far forward the front crossmember is from the point of measuring ride height.

-------------------------------------------------------------------------------

Once we know those parameters, I have a step-by-step process I follow ...

A – Spindle KPI: I have to work out the Spindle KPI with the length of the A-arms & wheel backspacing ... to end up with a desirable Scrub Radius ... from the information discussed above. When I'm working out a car for class rules, those rules often limit what we can do for spindles, control arms and/or wheels. In more unlimited series there are less rules. For Track Cars, there are no rules, except the ones we impose based on our desires, budget & priorities.



If we have a scenario where we can run front wheels with a lot of backspacing ... that gets the KPI closer to the center of the tire ... then we can run a low KPI spindle ... ending up with a zero Scrub Radius & optimum tire contact patch dynamically.

Here is where my strategy varies from other designers & setup professionals, who are also focused on zero scrub. They create a package where the Scrub Radius is zero dynamically at maximum g-force, which happens on the long, fast, smooth, sweeping corners of a road course.

In my experience, it's fine that the dynamic Scrub Radius goes past zero somewhat ... into negative Scrub Radius ... on long, fast, smooth, sweeping corners where the car will pull its highest g-load. For conversation sake, let's say we're a peak, but steady 2.2g in the sweeper. We have the front wheels turned very little here, so Scrub Radius isn't a priority. Having a little Scrub Radius here makes the steering wheel feel a little heavier & more stable. All good things at high speed & it has no impact on lap times.

My goal is zero Scrub Radius (or close to it) dynamically with the car in full dive, roll & the tire at optimum slip angle in the TIGHTEST corners. For conversation sake, let's say we're a peak 1.9g. We have the front wheels turned A LOT here, so Scrub Radius is a priority. Stated another way, having zero scrub on the long, gentle sweeping corner is not going to improve lap times. Where we improve lap times is having zero scrub in the tightest corners, where front grip is pushed to its limits. So, in this example only, we're going to target zero scrub, or close to it, at 1.9g, not 2.2g. Make sense?

Off topic a bit:  But now is a good time to warn against DEEP back spaced wheels, long control arms & HIGH KPI spindles ... we can get into a situation of negative Scrub Radius all the time, which isn't desired. I previously designed a front end with 12" wide wheels & 10" of backspacing. A narrow 8°-10° KPI spindle (like a C5/C6) would have put it into negative Scrub Radius Statically. Worse dynamically. If we were going to run a spindle like the C5/C6 in this case, we'd want to reduce the wheel backspacing & shorter the control arms. What we did instead was run a 5° KPI spindle & kept the deep backspaced wheels & longer control arms. Win-Win.

Back at the Ranch:  The spindle & hub design dimensions play a key part on our front suspension packaging. The distance from the KPI steering axis to the wheel hub face matters. Spindle/hub packages with large distances from the KPI axis to the wheel hub face create large Scrub Radius & make it hard (if not impossible) to get to zero/low Scrub Radius. Spindle/hub packages with shorter distances from the KPI axis to the wheel hub face create large Scrub Radius & make it easier to get to zero/low Scrub Radius.

For conversation sake, here are KPI axis to the wheel hub dimensions on popular OEM & over the counter racing spindle & hub combinations:

OEM GM 2nd Gen F-Body:  8.75° KPI / 4.348" from WMS to KPI Axis
OEM GM 1970's B-Body:  8.75° KPI / 4.668" from WMS to KPI Axis

Stock Car Coleman Opt Grand National: 5° KPI / 5.606" from WMS to KPI Axis
Stock Car Coleman Std Grand National: 8° KPI / 5.436" from WMS to KPI Axis
Stock Car Coleman Opt Grand National: 10° KPI / 5.322" from WMS to KPI Axis
*Coleman moves the UBJ Mount to achieve target KPI & welds true KPI Axis

Stock Car Coleman Opt Impala: 5° KPI / 5.066" from WMS to KPI Axis
Stock Car Coleman Std Grand National: 8° KPI / 4.896" from WMS to KPI Axis
Stock Car Coleman Opt Grand National: 10° KPI / 4.782" from WMS to KPI Axis
*Coleman moves the UBJ Mount to achieve target KPI & welds true KPI Axis



Howe TA2 Dual UBJ Hole Spindles: 5° KPI / 5.3842" from WMS to KPI Axis
Howe TA2 Dual UBJ Hole Spindles: 10° KPI / 4.833" from WMS to KPI Axis
* Lower Ball Joint on 8° KPI Angle / Not True KPI Axis

Howe TA2 Slug UBJ Spindles: 8° KPI / 5.046" from WMS to KPI Axis
Howe TA2 Slug UBJ Spindles: 10° KPI / 4.833" from WMS to KPI Axis
Howe TA2 Slug UBJ Spindles: 12° KPI / 4.620" from WMS to KPI Axis
* Lower Ball Joint on 8° KPI Angle / Only True KPI Axis @ 8°




MCR TA2 Spindles:  9° KPI / 4.94" from WMS to KPI Axis / True KPI Axis

Speedtech Tall Spindles: 8° KPI / 4.316" from WMS to KPI Axis
Speedtech Extreme Spindles: 8° KPI / 4.316" from WMS to KPI Axis
* The Extreme LBJ mount is lower & inward than thee Tall / Both True KPI Axis



Wilwood Truck Pro-Spindle: 8° KPI / 4.107" from WMS to KPI Axis / True KPI Axis
Cortex RDS-1000 Spindles: 6.25° KPI / 3.717" from WMS to KPI Axis / True KPI Axis
OEM Corvette C5/C6 Spindles: 8.66° KPI / 2.88" from WMS to KPI Axis / True KPI Axis



RSRT Track-Pro Spindle: 5° KPI / 3.314" from WMS to KPI Axis / True KPI Axis
RSRT GrandAm Spindle: 5° KPI / 3.855" from WMS to KPI Axis / True KPI Axis
RSRT Track-Star Spindle: 5° KPI / 3.855" from WMS to KPI Axis / True KPI Axis



RSRT Race-Star Spindle: 5° KPI / 3.314" from WMS to KPI Axis / True KPI Axis
RSRT GT Spindle: 5° KPI / 3.855" from WMS to KPI Axis / True KPI Axis
RSRT Pro-GT Spindle: 5° KPI / 2.285" from WMS to KPI Axis / True KPI Axis





Tip: The smaller the distance from WMS to KPI Axis, the less wheel backspacing required to achieve zero scrub. Anything under 4" can achieve zero scrub with 18" or larger wheels. The KPI, ball joint heights, steering arm configuration & hub bearing strength are all just as important, if not more so.

------------------------------------------------------------------------------------------------------------

B – Control Arm Length: In this post, I'm just giving you key pieces of information, to help provide you clarity ... and help you in deciding the direction you want to go. Think of it as "if this ...
then that" sort of discussion. None of these are recommendations yet ... just education.

Assuming the dive travel number is set, we will see less Roll Center geometry change & less Camber Gain with longer control arms. This is especially beneficial with high travel suspension strategies. But there are performance Gains from decreased Roll Center change, even with short travel. More on this later in this section.

Again, assuming the dive travel number is set, we will see more Roll Center geometry change & more Camber Gain with shorter control arms. This can be beneficial with low travel suspension strategies, to achieve the target Camber we need in dive. But there can be performance losses from increased Roll Center change. More on this later in this section.

If you are building a production car with a stock width front clip:
•    If you keep the wide factory spindle & lower backspaced wheels, you'll most likely end up with control arms near the stock length. Probably best to run a low to moderate travel suspension strategy, because the geometry changes so fast during travel.
•    If you run a narrower/lower KPI spindle and/or higher backspaced wheels, you would run longer custom or aftermarket control arms. Now you can choose any travel suspension strategy & be successful, because our Roll Center geometry is changing less during dive travel.
•    Of course, flaring the fenders & widening the track width also allow you to run longer control arms. The ultimate is to widen the track AND run narrower/lower KPI spindle & high back spaced wheels.

If you are building a car with a tube chassis front clip:
•    Depending on if you're building our own or buying one, you can design in the ultimate package of longer control arms, narrower/lower KPI spindle, deeper back spaced wheels. Wider track width too, if our bodywork and/or class rules allow it.
•    Just an FYI: Most IMSA Bodies back in the day were 79" wide! Then they went to 80". Modern Trans Am bodies are 80.65". Older Trans Am bodies were wider than that. There are a lot of aftermarket composite bodies with 79"+ widths.

A few tips if you are designing your own:
•    The center-to-center distance from the upper to lower ball joints need to always be a greater distance than the center-to-center distance from the upper to lower control arms. This is so the two control arms form an Instant Center on the opposite side of the chassis.
•    The greater the difference is, in those two dimensions, the shorter the "swing arm" is and more Camber change you have, along with more RC migration during travel and/or roll. The closer the difference is, in those two dimensions, the longer the "swing arm" is and less Camber change you have, along with less RC migration during travel and/or roll.
•    Because the UCA is shorter than the LCA, the UCA angle has a greater impact on Camber Gain & RC migration during travel and/or roll. For these reasons, in mid to high travel cars, assuming I have the flexibility to do, I place the LCAs at an angle running uphill into the center of the car ... and the UCAs are running "around" level into the center of the car ... at ride height.
•    One trick we use to tame Camber Gain in ultra high travel suspensions, is placing the UCA running at an angle running uphill into the center of the car. This way, the first 1/2" to 1" of dive travel has very little UCA angle change. That helps reduce Camber Gain.
•    If you need more Camber Gain in a low travel setup, you do the opposite with the UCA. Make sure it has significant angle running downhill into the center of the car. AND, keep the LCA angle running uphill into the center of the car ... maybe even more so ... to increase Camber Gain. Realize you will see more RC migration during travel and/or roll, so this is typically used with race cars with low dive travel & low Roll Angle. Then the RC migration is minimal.
•    One final point to take into account, cars of higher Roll Angles typically have more RC migration and a harder time reducing. RC migration is easier to control in lower Roll Angle cars.

------------------------------------------------------------------------------------------------------------

C – Static Caster, Caster Gain & Anti-Dive: Assuming that we now know the target Roll Angle & have selected a spindle KPI ... that takes us to how much "Static" Caster we need to build in to achieve optimum contact patch. If we're working with around 1° Roll Angle, I'll baseline around 10° positive Caster. If we're targeting 1.5°-2° Roll Angle, I typically baseline around 11° Static Caster. I don't design packages to roll more than that. But if you do, you'll find you need a little more Static Caster.

This is just a baseline. A starting point. When we're close to our final setup, we'll be fine tuning the Static Caster & Static Camber to provide us the optimum tire contact patch on both tires. But we need a starting point.

I need to know how much Caster Gain we'll have with our target travel, but I'm not going to change it. How much Caster Gain we have is controlled by how much Anti-Dive our build into the control arm angles.

Anti-dive is a geometry measurement of the upper & lower control arm angles forming an Instant Center (side view) relative to the race car's CG. Calculating Anti-Dive in the front is a lot like calculating Anti-squat is in the rear. We run imaginary lines through the pivot axis & compare to the CG of the car.

If both control arms are perfectly level & parallel, the car would have zero Anti-Dive. Angling the front of the UCA up ... or rear of the UCA down ... adds Anti-Dive. Angling the front of the LCA down ... or rear of the LCA up ... adds Anti-Dive. Conversely, the opposite of this is true.



As outlined in the definitions, Anti-Dive is mechanical leverage to resist or slow compression of the front suspension (to a degree) under braking forces. But why do we care? This mechanical leverage anti-dive provides us allows us to run softer springs in the front. Under braking, the mechanical leverage makes the wheel rate stiffer. How much is determined by how much anti-dive we choose to run. Theoretically, if we ran 100% anti-dive, the front end would not dive at all under braking. There are too many other factors that affect dive for this rule to be absolute, but you get the gist.

Over my 40+ years of racing I have come to find around 40% anti-dive achieves my goals. Combined with softer front springs than most other Racers run, the 40% mechanical leverage provides the rate/speed of dive travel that works well under threshold braking so the Driver doesn't shit their pants. And, this allows us to enjoy the benefits of softer springs everywhere else on track. (In the Forum thread discussing how to achieve more grip, I cover why & where softer spring rates are an advantage & disadvantage.

Since I typically want around 40% Anti-Dive, and give that priority, my Caster Gain rate is pretty much set. Caster Gain works like Camber Gain, as the front suspension compresses fully under braking in a straight line. "Dynamic Caster" would be when the suspension is compressed AND the steering is turned. Frankly, at that point, we don't focus on dynamic Caster. We only care about Dynamic Camber of the wheel & tire.

Quick Primer: When the front suspension compresses, if the angles of the lower control arm cause the lower Ball Joint to move forward and/or the angles of the upper control arm cause the upper Ball Joint to move back ... that creates Caster GAIN ... in dive (compression). This also creates Anti-Dive. I dial in my Anti-Dive & let the Caster Gain happen. I just need to know how much it is in dive.

When the front suspension compresses, if the angles of the lower control arm cause the lower Ball Joint to move back and/or the angles of the upper control arm cause the upper Ball Joint to move forward ... that creates Caster LOSS ... in dive (compression). We typically do not want Caster loss. This also creates Pro-Dive. I have only utilized Pro-Dive as a band-aid to get the front end to travel more when I was in a pinch, racing oval track, and no softer LF springs were to be had.

------------------------------------------------------------------------------------------------------------

D - Camber Gain & Roll Center: With the designs & setups I do, optimum grip is almost always the goal. So, whatever the target dive travel & Roll Angle is, we're going to want the dynamic Roll Center to be at ground level & under the center of the contact patch on the inside front tire. (More on this later) Obviously we're moving & tweaking both upper & lower control arm mounting points (with precision slugs in our stuff) and the upper & lower ball joint heights (or monoballs in our Race-Warrior stuff.)

RSRT control arm slugs range from 0 to .500" offset, in 0.0625" increments, so this provides us up to 1.00" of tuning range, in 17 steps, on every upper & lower control arm mount. In my case at RSRT, if the slots for the slugs are not in the sweet spot, I just design a new clip with the mounts where I need them. Same with the ball joints. They come in a wide range of lengths & I've designed RSRT spindles to have that range land in the sweet spot for our setups.

As far as ball joints go, I only use Howe. I've used other ball joint brands & had fracture failures. Never had a Howe fracture. Bend? Yes. Especially when we hit a wall or another car. But no breakage. Anyway, I've designed almost all RSRT spindles to use K772 uppers & K727 Lowers. These are some of the strongest ball joints available & the most popular by far. That gets us a lot of range. The K772 uppers come in 12 different lengths, mostly in .100" steps. The K727 Lowers come in 13 different lengths. So, we have a lot of range to work with. With this wide range of slug offsets & ball joint lengths, I can get the geometry near perfect.

With our Race-Warrior stuff with GT spindles, we run Howe lower ball joints with Monoball uppers. The monoballs are height adjusted with spacers & shims. So, I can fine tune the ball joint height as close as .005" to get the geometry literally perfect. On our highest end Race-Warriors with Pro-GT Spindles, we run monoballs top & bottom. Makes it easy to achieve perfect geometry.

In my designs the Roll Center targets take priority over Camber Gain. While both are critical, we can achieve our optimum Dynamic Camber by tweaking on Static Caster & Static Camber settings (even spindle KPI if we really need to). But nothing will make up the grip loss if the Roll Center is off. Having said that, we don't ignore Camber Gain to achieve the optimum Roll Center geometry. We have to optimize both as best we can.

Two common challenges in achieving the optimum Camber Gain both have to do with front end dive.
1.    With low travel setups, we often have too little (or less than we want) Camber Gain.
2.    With high travel setups, we often have too much (or more than we want) Camber Gain.

There is not always a "solution", but there is some help in knowing we can achieve our Roll Center goals two different ways.
A.    If we configure our lower control arms close(r) to level & put more angle in our upper control arms, we can achieve our Roll Center target & have MORE Camber Gain, within the same travel (dive) distance.
B.    If we configure our upper control arms close(r) to level & put more angle in our lower control arms, we can achieve our Roll Center target & have LESS Camber Gain, within the same travel (dive) distance.

Knowing this doesn't fix everything, but it is of help in working out the optimum setup. I hate compromises, and with tube chassis "from scratch" track cars & race cars, we have a lot less compromises. But with OEM factory based suspensions or series with tight rules, we sometimes find ourselves in a box. I have ... and don't like it ... but I have tweaked the suspension dive strategy to achieve happiness across the suspension & tire parameters.

One time we were targeting 3.0" of dive travel on a race car & just could not get the parameters in their happy windows. Ultimately we backed off the 3.0" dive travel target to 2.7" and was able to achieve optimum Roll Center geometry & optimum Dynamic Camber. I did not like it that the CG of the car was .3" higher & a little more air got under the car. But, I believe the performance of the car at 2.7" dive & optimum contact patches was superior to just sticking with the original 3.0" dive travel target & have less than full contact patches. The car did win a lot of races, because we don't always have to be perfect. We just need to be better than our competitors.

Back at the Ranch, when we know the car's Baseline Target, from experience we know what we want in Dynamic Camber (full dive, full roll & 15° steering). The Dynamic Camber goals are obviously different for the inside tire & wheel compared to the outside tire & wheel. Depending on how much tire roll under I expect to see ... influenced by many factors like car weight, g-force, sidewall height, tire carcass design, wheel dimensions, tire pressure, etc. ... the optimum dynamic camber on the outside front wheel can range from 5° to 7°. Whereas the inside front tire has significantly less load on it, minimal roll under, the optimum dynamic camber is 0° to a small degree of positive camber.

With the optimum KPI, caster & moderate static camber, we can achieve both Dynamic Camber goals if we focus on them. Remember, the suspension on the inside of the corner is not compressed as far as the suspension on the outside corner. So, effectively ... the inside tire is not getting as much negative Camber Gain to fight & overcome. And high degree of positive Caster is helping us achieve both.

So, we need to work out (in the suspension simulation software) the combination of Static Camber & Camber Gain to achieve these two Dynamic Camber targets. We already know our planned KPI & baseline Static Caster. These can be tweaked as well, if needed, but at this point our focus is on how much Static Camber & Camber Gain we have to achieve our target Dynamic Camber on both front wheels.

------------------------------------------------------------------------------------------------------------

E – Static Camber: Once I know how much Dynamic Camber I need for a race car & tire/wheel combination, I work out how much of it is going to be Static Camber & how much is going to be Camber Gain. We want the degree of Static Camber we believe will give the race car good turn in response & grip ... when we're off the brake ... like chicanes & long sweepers.

We do not want so much Static Camber we hurt our mid-corner grip (and corner speed) because the inside tire contact patch is diminished, reducing total front grip. . Many drivers get carried away with adding Static Camber, because it helps the car turn in better off brake ... and they end up with less grip throughout the corner ... reducing their corner speed & slowing their lap times.

This is not a simple decision, so give it serious thought. For conversation only, let's say we need -3.0° Total Camber in dive (threshold braking) BEFORE we turn in to achieve our Dynamic Camber target of -5.0° in roll with 15° steering. How much will be Static Camber & how much will be Camber Gain is the issue. Remember, due to body/chassis Roll Angle, the inside wheel is not getting as much negative Camber Gain as the outside front. This helps us achieve our goal, but don't increase Roll Angle. There are too many other negatives.

We may want to test various combinations of Camber Gain & Static Camber & watch our lap times. From my racing experience I have found that ideally I want to see -1.0° to -2.0° Static Camber on short sidewall tires with 18" wheels & more on taller sidewall tires with 15" wheels. But even this depends on how much Camber Gain we end up with. And it REALLY DEPENDS on how hard & fast the race car is being driven.

Track Cars can be different, because most track car drivers have different goals than hardcore Racers. This analogy is off topic, but makes a key point. For a lot of track cars, I configure brake systems with larger pistons & more clamping force ... so we can run a tamer friction pad. This still slows the car great, but is more economical. The tamer pads cost less. The pads wear slower & they wear (eat/kill?) the rotors slower as well. All of this saves money. A track car driver can get a few weekends out of a set of pads & a season, or more, out of their expensive rotors.

This works OK for budget Racers as well. But hardcore amateur Racers with serious budget & pro race teams are going to run the meanest pad compound they need & throw away the rotors after each race. The difference is they're looking for every performance advantage to win races. They're also going to run smaller piston calipers to create a stiffer pedal. This is key when we're so hard on the brakes with friction (heat) we're often close to boiling the brake fluid.

Frankly, I've seen track car drivers so easy on the brakes (lifting early) they aren't building enough heat to make mean (high CoF) race pads work well. Their brake performance was sketchy. We needed to get them on pads that work well at lower temps to improve their braking force.

Back at the Ranch Again: I shared the brake analogy to clarify there are differences for hardcore Racers versus fun track day drivers. The difference that matters here in this discussion is tires, Camber & driving limits. Most track day guys/gals drive as fast & as hard as they're comfortable ... and maybe a little beyond ... but not to the same limits as hardcore or pro race drivers. If we're a track day driver, we may want to take this into account. If we run high negative Static Camber, and we're not driving the car to 102% of its grip, then we're not seeing much lap time gain, if any. But we are seeing a lot of increased tire wear on the inner edges.

I close this section by saying this, if we're a hardcore road racer, and have the budget to go 102% all out, let's build as much Static Camber into our car as we can, until it starts to slow corner speeds & lap times. In my experience, that's around -1.6° to -2.0° Static Camber on short 30 series sidewall tires with 18" wheels & more on taller sidewall tires with 15" wheels. A lot of Racers run more. But it is my experience they're giving up mid-corner grip, speed & lap time.

If we're a track day driver, we're not going to see much gain, if any, from that much negative Static Camber & just wear out tires sooner. We, our car, our tires & our wallet are probably going to be happier with less Static Camber in the -1° to -1.5° range.  We always want some Static Camber. -0.5 is like the minimum on ultra high travel track cars, but I suggest more.

I find there are exceptions to every rule or guideline. Due to ride height rules, physics & other challenges, we also have a couple Race-Warriors that need more than -2.0° Static Camber to get to our target Dynamic Camber. Our GTL & GTX Race-Warriors ... with setups for Australia, New Zealand & the United Kingdom run at a 40mm ride height. That's 1-9/16"! Obviously, we're not traveling that car 3". LOL. Dive is 1.85" for that setup, so, the Static Camber in those cars has to be -2.2°. The lower the car is to the ground, the less it can travel, the harder it is to get enough Camber Gain to achieve the highest priority of Dynamic Camber. So, we end up having to run more Static Camber than ideal.

FYI Trans Am & SGT class in the Trans Am series have 50mm/1.97" ride height rules. SCCA GT1, 2 & 3 all run at 2.50" ride heights. We can achieve all of our Camber goals at those ride heights. But if we're running a Track Car for fun, we may want to be up in the 3.0", 3.5" to 4.0" ride height range to not scrape in the pits & load easier into our trailer. Take that into account.

-----------------------------------------------------------------------------------------------------------

How do we know if we're working the tire contact patch correctly?

Dynamically, on track
... which is all we really care about ... the track width is located by the tires' slip angles. The track width is from the center of the slip angle of the outside tire to the center of the slip  angle of the inside tire. The slip angle is more or less centered in the tire's contact patch with the track surface. But the contact patch is not centered with the wheel. It is pulled under & rearward.

In most cases the track widths narrow up a bit under hard cornering, only because the outside tire is loaded more, distorting more & therefore rolling under more ... than the inside tire. It is doing this in the front & rear, but not necessarily evenly at all times. Assuming we have the geometries optimized so both front tires' contact patches are fully on the track, the center of the tire tread is the center of the slip angle and defining points of tread width. This changes when the tire contact patches are not optimized.

If the outside front tire doesn't have enough Dynamic Camber (Camber, Camber Gain, Caster, Caster Gain & KPI combined) ... and the tire is leaned out at the top "to a substantial degree" ... then the tire doesn't have a full contact patch. It's not using the tread on the inside of the tire, so the contact patch is narrower. The slip angle will be in the center of the contact patch ... so it is farther out ... making the track width wider. But that's the least of our worries ... because the loss of substantial contact patch trumps everything.

If the outside front tire has too much Dynamic Camber (Camber, Camber Gain, Caster, Caster Gain & KPI combined) ... and the tire is leaned in at the top "to a substantial degree" ... then the tire doesn't have a full contact patch. It's not using the tread on the outside of the tire, so the contact patch is narrower. The slip angle will be in the center of the contact patch ... so it is farther in ... making the track width narrower. But again, the loss of substantial contact patch trumps everything.

The same concepts apply to all the tires.

A math example for everyone following along.
If the tread is 10" wide, but the outside front tire is leaned out at the top to the degree we're only using & loading the outside 6" of tire tread ... the track width moved out by 2" on that tire. Combine that with whatever the inside front tire is doing ... and that defines the dynamic track width of the car.

But again, losing 40% of the front tires' contact patch when cornering is a way bigger problem than the track width changing.

The Scrub Radius is what torques the tire tread around KPI axis ... increasing what is called "squirm" ... and "rips" the tire tread across the track surface ... causing that tire (those tires) to lose a degree of traction. The larger the Scrub Radius ... the larger the degree of lost traction.

When we go to the track for our initial test & tune, remember these key points:
• Balance the high speed corner handling with aero downforce ... specifically rear wing adjustment.
• Balance the low & mid speed corner handling with suspension tuning ... specifically rear Roll Center, shock valving, spring & sway bar rates.
• If the front end geometry is not optimum, corner speeds will be down in the tighter corners & the tire temps will tell us why. Tune accordingly.

In my experience the priority for tuning the front suspension geometry is the tighter, low & mid speed corners ... as long as the car is not loose in the high speed corners. On any given road course these different corners will have different needs. We may find (with DAQ) we've got 21° of steering in one corner and 9.5° in another. Obviously those steering differences are going to produce very different dynamic Camber numbers ... as they should.

A great test & tune tool is a skid pad. (It's a good driver training tool too.) If we have access to a safe, controlled, flat, measured parking lot skid pad ... it is killer for testing geometry & tire temps. I suggest you set the radius to match our most challenging corners. We can go either direction (clockwise or counter) but pick just one & stick with it for the day. For our conversation, let's say clockwise. Use a tire pyrometer with a probe (no infrared) to measure the temps in the center of the tread ... and both inside & outside of the tread. Stick probe in rubber DEEP about 3/4"-1" in from the edge of the tread on each side & in the middle. Writes notes every time.

Tuning Tips:
• If the car ends up rolling more than projected, we'll want to increase the Caster to keep both tires at optimum angles for full contact patches. If the car ends up rolling less than projected, we'll want to decrease the Caster to keep both tires at optimum angles for full contact patches. See examples 1 & 2.
• When need Camber to help responsiveness at turn in but it hinders the inside tire achieving optimum contact patch for turning grip through the corner ... so don't get greedy with Camber. See examples 3 & 4.
• Increasing the Caster & decreasing the Camber increases the "split" or difference in Dynamic Camber between the outside & inside tires. Decreasing the Caster & increasing the Camber decreases the "split" or difference in Dynamic Camber between the outside & inside tires. See examples 5, 5A, 6 & 6A.
For a clockwise skidpad , if BOTH the outside of the LF tire & the inside of the RF tire are hotter than the rest of the tire, reduce the Caster. If they're BOTH cooler, increase the Caster.

Examples:
#1 - If LF reads: 141-135-130 ... & RF reads: 161-155-150 = Car is rolling less than projected ... so reduce Caster
#2 - If LF reads: 130-135-141 ... & RF reads: 150-155-161 = Car is rolling more than projected ... so increase Caster

If the inside of BOTH tires are hotter than the rest of the tire, reduce the Camber. If the insides are cooler, increase the Camber.

Examples:
#3 - If LF reads: 130-135-141 ... & RF reads: 161-155-150 = reduce Camber
#4 - If LF reads: 141-135-130 ... & RF reads: 150-155-161 = increase Camber
When one tire is optimum & the other is not ... adjust the Dynamic Camber split.

Examples:
#5 - If LF reads: 130-135-141 ... & RF reads: 161-160-159 = Needs more Dynamic Camber "split" ... so increase the Caster & decrease the
Camber.
0r #5A - LF reads: 141-140-139 ... & RF reads: 161-155-150 = Needs more Dynamic Camber "split" ... so increase the Caster & decrease the Camber.
#6 - If LF reads: 141-135-130 ... & RF reads: 161-160-159 = Needs less Dynamic Camber "split" ... so decrease the Caster & increase the Camber.
0r #6A - LF reads: 141-140-139 ... & RF reads: 150-155-161 = Needs less Dynamic Camber "split" ... so decrease the Caster & increase the Camber.

Ultimately, you want the temps across the tires to be within 2°.
I'm a veteran racer & race car designer committed to staying on the leading edge of racing technology, for one reason, to win. Everything else is BS. I'm only semi-retired because I still love helping build bad ass race cars.

While engineering, geometry, trigonometry, physics & more affect everything in race cars, I do my best to make the complicated easier to understand. One of my racing friends said, "Ron is a race car designer that did not go to engineering school, so he speaks car guy."

Ron Sutton

Race Car Designer
Administrator
*****
Full Member
Posts: 186
Location: USA
State: Florida
City: Ocala
Logged
#3
I'm inserting Tech Tip #33 here ... to provide an overview of how tires increase grip with the optimum tire slip angle ... before we discuss mechanically twisting the inside front tire to achieve more grip. It is complex. There is more information on tire slip angle & grip in the Forum section titled:  Methods & Strategies to Increase Overall Grip for Track & Racing



Of course, in most cases the inside tire is running substantially cooler, because it is not being fully worked.

What I'm about to tell you is something I've kept to myself for years. The ONLY reason we run bump-out (bump steer adding more Toe-Out in dive) and/or Ackerman (in some combination we call Dynamic Ackerman) in race cars ... is to get the inside tire to its optimum slip angle. That's it. That is the ONLY reason. Why? Grip.

Obviously, the inside front tire is not loaded as much as the outside front tire. So, when the outside front tire is at optimum slip angle & grip ... the inside tire is not at optimum slip angle & grip ... unless we get it there by tuning on the Dynamic Ackerman.

Making the inside tire run at optimum slip angle "works" the inside tire more ... increases the grip of the inside tire a TON ... and increases the total grip of the front end, increasing cornering speed capability. I do NOT know how much dynamic Ackerman a car will need on any given day to achieve the optimum slip angle & grip on the inside tire ... unless we test. Too many factors come into play, with front Roll Angle of the car being at the top. Now ... it should be obvious that Low Roll Angle cars work the inside tires more than High Roll Angle cars. But regardless, we still want to "dial in" the Dynamic Ackerman to achieve the optimum tire slip angle to maximize grip. Simply increase the dynamic Ackerman to work the inside tire more.

In this example, we can see the outside front wheel is turned 15° & the inside front wheel is turned 16.3°. We would call this 1.3° Dynamic Ackerman @ 15° Steering. To convert this to a percentage, which I do not, we'd take the 1.3° & divide it by the amount of steering needed for 100% Ackerman.


 
Examples:
If LF reads: 136-135-134 ... & RF reads: 156-155-154 = increase dynamic toe ... until the inside tire comes up to match the temp of the outside tire ... or until we get a push. Ideally, we'd like to see the LF read: 156-155-154 ... & RF read: 156-155-154. We may not be able to get there, but get them as close as we can. The wild card in this is Roll Angle. If the car has too much Roll Angle, we'll never get the inside tire temp to match or get close, without the car pushing. Said another way, if it pushes before the temps get close ... we may have more Roll Angle than optimum.


Section Summary:
All of this ... is to optimize both front tire's contact patch with the asphalt ... In the car's dynamic states when it's driven HARD ... meaning turning, braking, rolling, unwinding & accelerating to the limits of the car, tires & driver ... sometimes beyond.

I realize this is a lot to digest. Don't be afraid to ask questions where ever I wasn't clear. A few quick reminders:

1.   The total front grip is the limiting factor to corner speed.
2.   Our goal is to work the outside front tire 100% & get the inside front tire to contribute 20-25% to the total front grip.
3.   Camber helps the outside tire & hurts the inside tire. If we run too much Camber, we can't get the inside tire to achieve optimum contact patch & maximum grip.
4.   KPI hurts the outside tire & helps the inside tire. If we run too much KPI for our roll angle, we can't get both tires to achieve optimum contact patch & maximum grip.
5.   Think of Caster as  "Dynamic Camber."  Caster helps both tires achieve optimum contact patch & maximum grip.
6.   Don't get greedy with Static Camber. It improves initial turn-in steering response, but too much  hurts the inside tire contact patch, reducing total grip & corner speed.
7.   Work out our camber gain & roll center geometry together.
8.   Work out our Anti-Dive & we'll have caster gain.
9.   Lowering the Scrub Radius helps the tires have more front grip & corner speed in tighter corners.
10.    Ackerman helps turn the inside front wheel & tire more than the outside front, taking advantage of the KPI & Caster more.

-----------------------------------------------------------------------------------------------------------

We know how people say a little information can be dangerous? This is one of those times.

If our OEM Based Track Car has a Moderate to High Scrub Radius ... we have to be careful with how much Caster we can put in the car ... because Caster combined with a high Scrub Radius creates a "jacking effect" when we turn the wheels. Dynamically, this jacking effect "de-wedges" the car ... loading the inside front & outside rear tires more ... while also unloading the inside rear tire & increasing the degree the car diagonally rocks & loads the outside front tire.

All of this helps the car to turn better. But go too far ... and the car will get loose on entry. This effect increases with speed, so is more pronounced on road courses than Autocross. This is where track tuning comes into play. If we have a high Scrub Radius ... sneak up on the Caster you put in the car ... until you get the car "free" on entry ... then increase rear grip ... or tune something else to allow us to keep that amount of Caster, so the car turns well in the middle. Repeat this until we get to the point the tire temps are happy & stop. If we go too far, reduce the Caster a tick. But do NOT keep a set-up that makes the rear loose & stepping out on corner entry. That is never OK on pavement.

Make sense?

Also with OEM front frames, some common methods to increase positive "Static Caster" ...

1. For oem applications, use less Camber shims in front & an equal amount more Camber shims in rear ... so the UBJ moves back, without changing the Camber.
2. Relocate the UCA mount rearward, so the UBJ moves back when bolted on.
3. Buy or build a UCA with the UBJ located rearwards. So, even bolting it in the stock location, the UBJ is located rearward. I often do this, to achieve the Caster I want so I don't have to cut off & relocate the UCA mounts.
4. Buy or build a UCA with slots ... so the UCA can be slid back & forth a small amount.
When the UCA is slid back & the UBJ is located rearwards, this is more positive Caster.
5. Any combination of 1-4.
6. Relocate the LCA mount forward, so the LBJ moves forward when bolted on. We achieve this by slightly rotating the LCA pivots forward, when we're truing up the LCA pivot holes.
7. Buy or build a LCA with the LBJ located forward. So, even bolting it in the stock location, the LBJ is located forward.
8. Buy or build adjustable LCA with threaded adjusters ... so the LCA & LBJ can be adjusted back & forth a small amount. When the LCA & LBJ is adjusted forward, this is more positive Caster.
9. Any combination of 6-8.
10. Any combination of 1-4 & 6-8.

--------------------------------------------------------------------------------------------------

Additional info about adding Static Caster:

Just for example: If we move the UBJ back .500" ... or instead, we move the LBJ forward .500" ... the Caster change is the same. But these two different changes move the spindle axis & wheel fore & aft differently.

When we are moving the UBJ rearwards any significant amount ... we are shortening the wheelbase by moving the spindle axis & wheel back in the fenderwell. When we are moving the LBJ forwards any significant amount ... we are lengthening the wheelbase by moving the spindle axis & wheel forward in the fenderwell.

If we had an odd spindle where the spindle axis was exactly in the center of the spindle upright ... then we could move the UBJ back .250" & move the LBJ forward .250" ... and in this hypothetical situation the two changes would offset each other ... and the spindle axis & wheel would not move fore or aft, so the wheelbase wouldn't change & the wheel would stay in the same location in the fenderwell. But that is not how spindles are typically designed.

Typically, in most spindles, the spindle axis is not in the center of the spindle upright vertically. Typically, the distance from the spindle axis to the center of the LBJ is a lot shorter than the distance from the spindle axis to the center of the UBJ. Said another way, the spindle axis is typically below center on most spindles. So, ... moving the LBJ .250" forward ... moves the spindle axis & wheel location farther forward in the fenderwell ... than moving the UBJ .250" rearward moves the spindle axis & wheel
location rearward in the fenderwell. Some guys care ... and some don't.

When should we care?
If achieving or keeping a certain wheelbase matters to we.
If achieving or keeping a certain Ackerman amount matters to us.
If achieving or keeping a certain bump steer amount matters to us.
If achieving or keeping a certain wheel in fenderwell appearance.
If achieving or keeping a certain wheel in fenderwell clearance.

I'm assisted a sportsman racer to increase his Caster. He already had installed aftermarket UCA's that move the UBJ rearward. And he had already shimmed the UCA to get all the Caster this set-up would allow. This increased his Caster by 4° from 1.5° to 5.5°.

I'm using round numbers to make the conversation easier, but the numbers are close. His UBJ to LBJ center-to-center dimension is 12". The spindle axis to the center of the LBJ is 4" and spindle axis to the center of the UBJ is 8". In other words, 1/3 of the spindle upright is below the spindle axis & 2/3 is above the spindle axis. This makes it a 2-1 change ratio ... meaning any forward movement of the LBJ will have twice the effect of moving the wheelbase forward ... as the same amount of rearward movement of the UBJ's effect would be at moving the wheelbase rearward.

Make sense so far?

He didn't think about it before, but adding Caster by moving only the UBJ back moved his tire & wheel backwards in the fenderwell. Overall, he moved the UBJ back .800" to Gain that 4° of Caster. That moved the spindle axis & wheel in the fenderwell location back ... and shortened the wheelbase ... by 1/3 of that .800" ... or .264" (a little over a 1/4").

In the big scheme of things not a big deal on wheelbase, but it does affect Ackerman & bump steer. With his specific car, it also made the tire rub in the rear inner fender a tick.

The added Caster helped the car to turn better ... but not enough ... and he wants more. So, now, we're installing new LCAs ... that have the UBJ moved forward by .400" designed in. That will add another 2° of Caster ... and move the spindle axis & wheel in the fenderwell location forward ... and lengthen the wheelbase ... by 2/3 of that .400" ... or .264" (a little over a 1/4") ... back to where it was.

I don't want to imply that "back to where it was" is optimum for any of this settings. I just used this car as an example to show we how changing Static Caster effects other things. We will want to keep these things in mind as we do mods on our hot rod.

The lost degrees of steering radius ... say from 30° down to 25° ... wouldn't ever be used on track or even AutoX. So, the smaller steering radius & larger turning radius would probably only come into play when parking in tight parking spaces. If we ever have to turn the front wheels more than 20° on any road course ... we have much bigger problems to deal with than the tire rubbing.

The AutoX courses look tight because they are tight. But I'm certain 25° is plenty steering radius. On the tightest corners I've seen at Good Guys AutoX the proper steering was closer to 20°, if not less than 20°. Of course, I'm assuming the car is being "driven" at 102% of the tires handling & grip limits ... because
the slip angle in the rear does a lot of the turning. And that it's not ill-handling & pushing.

Now, that doesn't mean cars don't currently go past 25° steering radius. I see them do it often when the car is driven too slowly ... and the rear tires are nowhere near optimum slip angle ... so they're not helping the car to turn. I also see cars go past 25° steering angle when the car & front tires are in a full push mode. Then I see guys just keep grabbing handfuls of steering wheel ... which is the wrong thing to do.

The front tires were already pissed off ... when they went past optimum slip angle. Increasing the slip angle more just makes it worse. But it's human nature ... like jumping on the brakes in panic mode. A trained driver doesn't jump on the brakes and lose control of the car. They stay calm & drive out of the situation if possible. A trained driver doesn't crank more steering into a pushing car. If they have any room at all, they'll unwind it a bit & let the front tires get traction again.

--------------------------------------------------------------------------------------------------

I figure I should mention strut front ends before we move on:
To clarify, I hate strut front ends. I would never choose to build a race car from scratch with struts in the front, unless the series rules required us (like Australian V8 Supercars). The basic strut design in the modern cars leave a lot to be desired. The manufacturers didn't change to these to build better performing cars. They did it to simplify the cars design, as well as reduce manufacturing work & overall cost. It was great to see the C5, C6 & later Corvettes designed with double wishbone suspensions. Too bad GM went with struts on the Gen 3, 5 & 6 Camaros.

The reason for my disdain is simple. In double wishbone front suspensions, we have both upper & lower control arm angles to achieve our roll center location & migration targets, as well as camber gain. In strut front suspensions we only have lower control arms, making achieving our goals harder, if not impossible.

In every racing class where the rules allow us to change from strut to double control arm front suspensions ... we do. At least those that know & have the resources to do it. Just to clarify, I have raced & won with strut based cars. I developed front suspension setups for many 3rd Gen Camaros with  the strut.

My client Philip Smith campaigned a 3rd Gen Camaro in National SCCA racing in the AS class (American Sedan / Similar to AI in NASA). Rules require him to keep the struts. So, we optimized the suspension in every way possible & made his combination pretty sporty. He won 6 national events, finished 3rd in the 2015 Runoffs & 2nd in the 2016 Runoffs. In addition to the GM 3G F-bodies, I even have RSRT strut spindles & suspension packages for all the Strut Mustangs. We've won SCCA & NASA events with all of them. In conclusion ... we can be fast on struts ... and faster yet on double wishbone setups.

I'm a veteran racer & race car designer committed to staying on the leading edge of racing technology, for one reason, to win. Everything else is BS. I'm only semi-retired because I still love helping build bad ass race cars.

While engineering, geometry, trigonometry, physics & more affect everything in race cars, I do my best to make the complicated easier to understand. One of my racing friends said, "Ron is a race car designer that did not go to engineering school, so he speaks car guy."

Ron Sutton

Race Car Designer
Administrator
*****
Full Member
Posts: 186
Location: USA
State: Florida
City: Ocala
Logged
Moving on to other Front Suspension Points
Steering Feedback to the Driver

Less Scrub Radius decreases the feel of the track in the steering wheel ... communicating to the driver what the front end is doing. More Scrub Radius increases this feel.

More Caster increases the feel of the track in the steering wheel ... communicating to the driver what the front end is doing. Less Caster decrease this feel.

Since reducing Scrub Radius is good for turning ability ... but takes away the feel ... and adding Caster also helps the turning ability ... and returns the feel ... these are two good tuning changes to do together.

Now "driver feel" is very subjective ... no doubt. I have had talented race drivers we developed to the nth degree ... with amazing feel & feedback ... that can tell we if we changed the tire 1/4 pound of air pressure, took out .030" of bump stop shim, which spring coil bound first, which suspension corner stopped traveling 1/16" earlier than the other or if there was extra clearance in our ring & pinion gap ... and that's not even a tiny bit exaggerated. Those are real thing that happened.

A Crew Chief/Tuner can have a lot of confidence in those situations. These particular drivers & I won a lot of races together.

And on the other hand ... I've seen drivers that couldn't tell we when they hit a pothole (they did) or not. So, I think "driver feel" is a relative term.

Steering Jacking Effect:
First, we need to know the term "Jacking Effect" applies to several areas of the race car. Later we'll discuss "Control Arm Jacking Effect" ... but here we're talking about "Steering Jacking Affect.

This is easier to visualize in a race kart with no suspension (other than the flexibility of the frame rails). When we turn the steering on corner entry (let's say left for this example) the outside wheel actually raises & the inside wheel lowers. Said another way, the outside wheel is lifted away from the track surface & the inside wheel is pushed into the track surface.

In racing karts, this is CRITICAL to their turning ability, because they have no suspension. In a kart, when the driver turns left & brakes ... outside front tire doesn't see less load ... but only because of the g-forces from braking. In fact, the outside front tire sees the most load. More the faster the driver enters the corner and/or harder they break. Because the inside front is being pushed into the track, it actually sees pretty decent loading as well, but nowhere near as much as the outside front tire.

This is important: The tire that gets completely unload ... even lifting off the track surface ... is the inside rear tire. This is key to the Kart turning. Both front tires & the outside rear tire are loaded to the max & the inside rear tire has some degree of daylight in between itself & the rack. That kart is turning correctly. (See photo)



This same concept happens in race cars as well. But, because they're suspended, it doesn't show as pronounced as a race kart. BUT, we are still unloading the inside rear tire to some degree. It may be so much (in cars with too soft of a suspension) that the inside rear tire is off the ground. (See photo)



We do NOT want the inside tire (or any tire) in the air. In a well set up road race car, the inside rear tire is on the ground. It just isn't loaded much. This is also key to making the race car turn well. We need some degree of "Steering Jacking Effect" for the car to turn well. Too much & the race car will be loose on entry. Too little & the race car will push on entry.

Scrub Radius & Caster (static & dynamic) affect the "Steering Jacking Effect."

Less Scrub Radius decreases "Jacking Effect" on corner turn in  ... reducing jacking affect. So, we end up with the inside rear tire loaded more. This contributes to a race car being tight or pushing on corner entry under braking & turn in steering. BUT, we want less Scrub Radius to increase grip on tight corners. Read on for the solution.

More Caster increases "Jacking Effect" on corner turn in  ... increasing jacking affect. So, we end up with the inside rear tire loaded less. This contributes to a race car freeing up & turning well on corner entry under braking & turn in steering. Of course too much & the rear of the car gets loose.

How much caster should we run? Pay attention to the tire temps & dial in the camber & caster for optimum tire temps, equally optimum tire loading. Then if the race car is a little tight or loose, tune the rear suspension for balance. The rear sway bar is a great tuning tool for this situation. Read the tuning section for more clarity.

Since reducing Scrub Radius is good for turning ability ... but takes away the feel ... and adding Caster also helps the turning ability ... and returns the feel ... these are two good design decisions to make together. Ideally, when we reduce scrub radius, we're also increasing caster.

--------------------------------------------------------------------------------------------------

Setups, Tuning & Winning:

We don't have to become a "Setup Guru" or "Expert Tuner" to have "fun" with our Track, Autocross or Road Race Car.
We can buy a new or used road race car, autocross or track car. Most of these are pieces of poorly engineered (or not engineered at all) shit boxes. Some of these are well engineered, dialed in winning race cars.

There are poorly engineered (or not engineered at all) aftermarket suspensions we can buy & install on our production car, to make our very own shit box. There are well engineered & refined aftermarket suspensions we can buy & install on our production car, to make our very own well engineered car.

Obviously, from my descriptions, we can surmise my opinion on poorly engineered (or not engineered at all) race, autocross & track cars ... as well as aftermarket suspensions. We are not going to be fast or competitive at all, if we simply run them as they are. If that's OK with we, save yourself some time & stop reading here.

But, if we want to be faster, we need to learn how race cars work dynamically to rework & refine (replace?) ours into a well handling machine. If we trust a popular brand as our guiding force, we'll be in for a rude awakening. We will discover the majority of "Racers" buy stuff because they've seen the brand often, which is a function of good marketing, not good engineering.

Just don't disillusion yourself into thinking we're going to make a purchase, show up at serious competitions & beat the "thinkers & tuners." If that was the case, all the pro race teams that buy well engineered race cars would win. In reality, we know these "customer cars" ... that are identical to the winning team cars ... are not going to win, because they don't know how to fine tune it into a winner. There are too many variables in tracks, track conditions, prep, weather, etc. to allow a "one-size-fits-all" setup to run up front. Tuners are winners.

If we want our autocross or track car to be faster than our friends, we need to learn more than them about setups & tuning. That's not hard in most cases. Just get a well-engineered package & learn the basics of balance tuning. If we want to win autocross events or be fastest at track day events, we need to learn a little more ... including how to optimize grip.

If you want to be a winner in road racing, you need to we need to learn a lot more than that. Frankly, you need to learn at least as much, if not more, than your competition about setups & tuning. Of course, you need to start with a well-engineered race car, or you don't have a snowball's chance in hell.

The Driver can be the "Setup Guru" and/or "Expert Tuner" ... but doesn't have to be. SOMEONE on your team needs to be a "Setup Guru" and "Expert Tuner."

I only went into racing for the competition. To win. No other reason. This surprises most people, but I don't enjoy driving race cars. I enjoy winning. I enjoy beating competitors on the start, passing cars coming through the field, closing the gap & running competitors down, being the fastest one there & winning race events. I won 85 races as a driver, but I wasn't a great driver by any means. I was just a "good" driver. I won races when my cars setup & tuning allowed me to outrun better drivers.

That only works so far up the ranks of racing. As I moved up in levels of competition my driving skills aren't up to snuff to win. So, I gladly handed over the steering wheel so I could focus on making the race car handle amazing to give our driver an advantage.

I figure I have over 2500 track test days under my belt in my 47 years of racing. I wasn't the smartest guy at the track ... but when he went home ... I was still there testing, tuning, learning & getting faster. To win ... we gotta be willing to do the work. If we're not, be clear on that and set our goals accordingly.

We're all here for fun. Some of us find the fun of winning worth the effort & sacrifices it takes to do so. Some of we don't. That's OK. Just be clear on our goals.

---------------------------------------------------------------------------------------------------------------------------------


We cannot go any faster through corners than the front end has grip & the front roll center is the #1 priority to front end grip.



Front Roll Centers:
I'll be very basic for any readers following along that are completely new to this & apologize in advance for boring the veterans with more knowledge of this. Cars have two roll centers ... one as part of the front suspension & one as part of the rear suspension. I'll first explain what role they play in the handling of a car ... then how to calculate the front roll center ... and finally how to optimize it.

Think of the front & rear roll centers as pivot points. When the car experiences body roll during cornering ... everything above that pivot point rotates towards the outside of the corner ... and everything below the pivot point rotates the opposite direction, towards the inside of the corner. Because the front & rear roll centers are often at different heights, the car rolls on different pivot points front & rear ... "typically" higher in the rear & lower in the front.

If we were to draw a line parallel down the middle of the car connecting the two roll centers (side view) ... this is called the Roll Axis ... that line would represent the pivot angle the car rolls on ... again "typically" higher in the rear & lower in the front.



The forces that act on the car to make it roll ... when a car is cornering ... ... act upon the car's Center of Gravity (CG). With the race cars we're focused on, the CG is above the Roll Center ... acting like a lever. The distance between the height of the CG & the height of each Roll Center is called the "Moment Arm." Think of it as a lever. The farther apart the CG & Roll Center are ... the more leverage the CG has over the Roll Center to load the tires & make the car roll. While more grip is the goal, excessive chassis Roll Angle is our enemy, because it over works the outside tires & underutilizes the inside tires.

Some people like to look at the car as a unit. I look at it as two halves. Here are some examples ... using a typical 3000# Track Car with 53% front weight... to provide more clarity:

If the CG is 18" high ... and the front Roll Center is 2" above ground ... the car has 53% of the 3000# (1590#) weight with 16" of leverage to roll the front of the car. If the CG is 18" high ... and the rear Roll Center is 12" above ground ... the car has 47% of the 3000# (1410#) weight with 6" of leverage to roll the rear of the car. Doing the math, that's (1590# x 16 inches ÷ 12 inches) 2120 foot-pounds of torque rolling the front of the car & (1410# x 6" ÷ 12 inches) 705 foot-pounds of torque rolling the rear of the car.

* With the forces that far askew, the front overloads the outside front tire & underutilizes the inside front tire when cornering. That Car will push like pig.

If we lowered the car 2" ... the CG drops 2". The front Roll Center probably moved too ... but it's not linear ... it is based on A-arm angles. Let's say it dropped 1" in the front to 1" above ground and we adjusted the rear Roll Center down to 9".

Now ...
The new CG is 16" high ... and the front Roll Center is 1" above ground ... the car has 53% of the 3000# (1590#) weight with 15" of leverage to roll the front of the car. If the new CG is 16" high ... and the rear Roll Center is 8" above ground ... the car has 47% of the 3000# (1410#) weight with 8" of leverage to roll the rear of the car. Doing the math, that's (1590# x 15 inches ÷ 12 inches) 1988 foot-pounds of torque rolling the front of the car & (1410# x 8 inches ÷ 12 inches) 940 foot-pounds of torque rolling the rear of the car.

* Now, the front sees lower roll forces & the rear sees less, making the car more balanced. Overall, the car will run "flatter" ... not flat, just less Roll Angle ... working the inside tires better.

Any weight we can remove from high up ... or relocate to lower in the car ... moves the CG down ... reducing the leverage it has over the Roll Center ... allowing the car to have less Roll Angle during cornering ... working all four tires more evenly ... and the grip of four tires is faster than two. We'll discuss moving the Roll Center in the final section. Next, let's cover how to figure out where our front roll center is at.

Reminder of Critical Tuning Concept #7: Modern day tuners do not use the RC height as the primary means of controlling Roll Angle. We use the suspension tuning items as our priority tools to control Roll Angle. We use the RC priority to load the tires optimally. So, to achieve the optimum balance of Roll Angle & working all four tires optimally ... this all has to work with our suspension ... springs, anti-roll bars & shocks ... and track width ... to end up at the optimum Roll Angle for our car & track application.

---------------------------------------------------------------------------------------------------------------------------------

Locating our Front Roll Center:
Measuring all the pivot points in the front suspension to calculate the Roll Center in the front suspension of a double A-arm suspension car can be tedious ... but the concept is quite simple.

Our UCA & LCA have pivot points on the chassis ... and they pivot on the spindle at the BJC's. Forget the shape of the control arms ... the pivots are all that matter.



If we draw a line through the CL of the UCA pivots & another line though the CL of the LCA pivots ... they will intersect at some point (as long as they are not parallel). That point is called the instant Center (IC) ... and the UCA/Spindle/LCA assembly travels in an arc from that IC point. However far out that IC is ... measured in inches ... is called the Swing Arm length. More on this later.

Next we draw a line from the CL of the tire contact patch at ground level ... to the IC. Do this on both sides ... and where the two "Tire CL-to-IC" lines intersect ... is the front Roll Center. Look at the drawing below. The colored dots represent the IC for the same color LCA/UCA. The black dot represents the Static RC at ride height.

Make sense?



Now I'll throw you a curve ball. The static RC at ride height is of minor importance. It IS IMPORTANT, just not as important as the Dynamic Roll Center (in dive & roll) that matters most. Dynamic, in this case, is when the front suspension is compressed (from braking) & the car is in roll (from g-forces turning) with steering input. When we have the front suspension compressed & the car is rolled over to some degree ... all those control arm angles change ... and therefore the roll center moves. It typically goes down ... and may migrate to the left or right of center.

In the drawing below, the car is making a right hand corner ... compressing the suspension 2" in the center and rolling over at a 3 degree angle. Again, the colored dots represent the ICs for the same color LCA/UCA. See how the IC's move the swing arm lengths change? The black dot represents the dynamic RC in dive. Notice the RC is lower but also "migrated" to the outside front corner, which is most common.



I'm a veteran racer & race car designer committed to staying on the leading edge of racing technology, for one reason, to win. Everything else is BS. I'm only semi-retired because I still love helping build bad ass race cars.

While engineering, geometry, trigonometry, physics & more affect everything in race cars, I do my best to make the complicated easier to understand. One of my racing friends said, "Ron is a race car designer that did not go to engineering school, so he speaks car guy."

Ron Sutton

Race Car Designer
Administrator
*****
Full Member
Posts: 186
Location: USA
State: Florida
City: Ocala
Logged
Critical Tuning Concept #7, Understanding Roll Axis & Diagonal Roll
Goal: To achieve maximum grip & neutral, balanced handling simultaneously when turning

When we only look at the roll centers from the front or side, it clouds our understanding of what is really happening with the race car dynamically. Same when we only look at the Roll Axis from the front or side ... it clouds our understanding of what is really happening with the race car dynamically. When we look at the Roll Axis from the top view things start to make so much sense as why certain cars handle the way they do.

Let's start with this top view. The red arrow shows the race car going through a right hand corner. The g-force arrow shows direction & we know the car will roll over (to some degree) to the driver side of the car. The blue circle is the rear roll center. This drawing assumes it is actually centered in the chassis and 6-8" behind the RACL ... like a panhard bar or Watts link would be.

*It is critical for road race cars to design & build the panhard bar or Watts link so the is actually centered in the chassis. Otherwise, the race car will not roll (or handle) the same on left & right hand corners.

The red circle is around the front center. It assumes it is centered in the chassis and on the FACL. I find a lot of production cars with uneven left & right side control arm mounts. The front roll center in those cases is NOT centered in the chassis & the race car does not roll (or handle) the same on left & right hand corners. This is why it is so important new race cars are built on precision fixtures & production cars have their left & right side control arm mounts modified to mirror each other.




NOW ... critical to understand ... when the body/chassis rolls, the front roll center is NOT going to stay centered. It is going to "Migrate" toward the inside or outside front wheels. This is due to the angle changes in the control arms, which are opposite of each other. Which direction of migration depends on the geometry designed in.

This next point is critical to know when configuring race car geometry. The direction the roll center (front or rear) migrates, is the direction a higher percentage of dynamic loading goes as well. In other words, if we migrate the FRC towards the outside front tire/wheel, then the outside front tire/wheel will see more loading.

All production & most amateur control arm geometry I've seen migrates the front roll center toward the outside front tire/wheel.



The problem is twofold. First, this unloads the inside front tire, taking away any grip it could have added to total front grip. Second, this overloads the outside front tire, lowering the corner speed at which it will experience optimum slip angle & maximum front grip.

Read that again.

When the roll center migrates toward the outside front tire/wheel ... the inside tire has less grip ... form underloading ... and the outside front tire has grip at a lower speed due to overloading.

This illustration above shows the FRC migrating about 2/3 the distance from chassis centerline to the center of the tire contact patch. If our setup migrates less distance than this, the grip & corner speed losses will be less as well.

Conversely, if our setup migrates the FRC further outward, like the next illustration below shows, our problems are increased ... the grip & corner speed losses will be worse.



This illustration above shows the worst setup. If we visualize the g-force pushing the direction of the arrow, we will see the inside front tire is the least loaded, if loaded at all.  The photos below show what it looks like the on track.







It sure "looks cool" ... but these racers are losing  some lap time. It reminds me when I see drag cars pulling a 6' wheelie. Looks cool. Not as fast as it could be. Imagine how much faster corner speed they'd have if they utilized all four tires? Last time you watched an IMSA or Trans Am race, how many cars had tires lifted & unloaded like this?

FYI: This "hike a front wheel" can be achieved with correct roll center migration by simply running too soft of rear spring rate.

So, what should our FRC migration look like?

This! (Below) This is better.




We want the FRC to migrate towards the inside front tire/wheel.

This helps keep the inside tire contact patch on the track & loaded to some degree. The gains are twofold & increase our car's ability to carry more corner speed in EVERY corner.

First, the more load we can keep on the inside front tire during cornering, the more grip it will produce, increasing total front grip, and increasing our corner speed.

Second, the more load we keep off the outside front tire (from body roll, not speed) the faster we can go through the corner before the tire's optimum slip angle are achieved.

Win-Win! More grip at a higher corner speed. Remember the rule, we can only go as fast through the corners as the front grip allows us. Adding more rear grip to keep the car balanced is a walk in the park. The heavy lifting & dominating performance comes from work we did in the shop & on the computer to create this optimum geometry.

Ideally, we want the FRC to migrate as far as possible to the INSIDE of the corner. In oval track racing, always turning left, we can set up the control arms angles different from each other to such a degree that we can put the FRC in the INFIELD of the track. Not kidding. Not even a little. Top Stock Car teams in NASCAR series lay out their geometry to extremes, because every little advantage over their competitors is key.

For road courses & autocross, we need to have the control arm lower mirror each other from side to side, so the car handles the same left & right. The FRC migration goal is the same ...  to migrate as far as possible to the INSIDE of the corner. But we will not see the extreme migration oval track racers can achieve. Over the years, my target has been to migrate the FRC as close to the center of the INSIDE tire/wheel as a I could get it. If we can get a little past center, that's even better. Ideally, our FRC migration looks like the illustration below.



Before I move onto the next topic, let's do some housekeeping on Roll Axis.

A. The roll centers do not totally control the roll angle of the car. Spring rates & sway bar rates play a large role. Ideally, the roll centers ... and therefore the Roll Axis ... is working with the spring & sway bar rates to achieve the optimum "Diagonal Roll Angle." More on this coming up.

B. I've seen cars with good roll centers & Roll Axis designs, lift tires & handle poorly ... because the spring & bar rates are out to lunch.

C. If we put way too soft of spring & sway bar rates on the front or rear of the car, the car will roll more on that end of the car during body/chassis roll.

D. If we put way too stiff of spring & sway bar rates on the front or rear of the car, the car will roll less on that end of the car during body/chassis roll.

E. If we put a messed up combination of spring & bar rates, no ideal geometry will fix it. As always, it is the total package working together.

---------------------------------------------------------------------------------------------------------------------------------

Diagonal Roll Travel Discussion & Explanation:
If we refer back to my earlier fundamental statements at the start of this thread, I mentioned we need to get the inside rear tire to disengage ... to a degree ... to achieve optimum turning. We achieve that through the diagonal roll of the car. Let's take these areas one at a time, starting with ...

For Optimum Corner Handling ... We Need to Disengage the Inside Rear Tire ... To a Degree:

"Disengage ... to a degree" means we are reducing the load on that inside rear tire. We may ... or may not ... need to reduce the tire's contact patch. But for optimum cornering ability, we need to reduce the grip of the inside rear tire. This is critical to a good handling car on grippy tires & tight corners.

"To a degree" means we are not lifting the tire off the ground completely. We may not even be close. It simply means we are reducing the load & potentially the contact patch on that inside rear tire. "To a degree" also implies ... correctly ... that we want to control how much. This is key. If we do not disengage the inside rear tire enough, we struggle with a tight/pushy car. If we disengage the inside rear tire too much, we now

have a loose car to deal with. How much is right? The answer depends on many factors and varies by track, car, set-up & driver. Heck, it will vary throughout the day as track Conditions change.

"Re-engage" means we want to "plant" the inside rear tire hard on corner exit ... to regain & achieve a loaded, full contact patch ... so we have two full tire's worth of contact patch for accelerating. This happens as the driver unwinds the steering wheel. "How much" is determined by suspension geometry, shocks, springs, etc.

How do we disengage the rear tire to a degree? ... Diagonal Roll Travel.
Diagonal roll travel is the combination of roll & pitch. Pitch happens under braking. Roll happens during cornering. Diagonal roll travel happens during braking & cornering. Diagonal roll travel is when the inside rear suspension extends, unloading the inside rear tire "to a degree" ... while compressing the outside front tire farther & loading it more.

As we peel back the layers of handling, to truly understand what the suspension is doing, we need to think about the car dynamically, not Statically.

When we come up to a corner, running straight, we brake first, and the front suspension compresses evenly. A lot of weight has transferred from rear to front. The rear tires have less load & less grip. The front tires have more load & more grip. Now ... we turn into the corner. This doesn't happen "all at once" ... it happens gradually. Let's say it's a right hand corner. When we first move the steering wheel to the right ... weight starts to shift to the left side tires.

Because we're still on the brakes while turning ... the left front tire is now getting more load than any other tire ... and the loading will increase as we turn the steering wheel more and the car turns harder into this right hand corner. If we're running a modern low roll set-up, the inside front tire is still an effective & vital part of the front suspension & grip equation. It's just not doing as much work, or providing as much grip, as the outside front tire.

Make sense so far? If not, please ask questions.

For optimum cornering ability, we need diagonal roll
to disengage the inside rear tire "to a degree" and load the outside front tire more. The "to a degree" part is critical. As mentioned above, if we disengage the inside rear tire too much, the car is loose on corner entry & middle. If we don't disengage the inside rear tire "enough" the car is tight/pushy in the middle of the corner. (Entry also ... if extreme.)

Tip: We don't "make" diagonal roll happen. The natural g-forces caused by braking & turning make the car want to diagonally roll. We simply need to control "how much" with suspension tuning.

The keys to controlling the amount of diagonal roll & therefore the degree the inside rear tire disengages:
• Degree of jacking effect
• Difference in front to rear roll angle
• Amount of front end travel combined with the degree of roll angle
Let's take them one at a time in the next post.

--------------------------------------------------------------------------

Now ... let's talk jacking effect. For the first part of the discussion, assume we have optimum
Caster and a small Scrub Radius. We'll expand on variations each direction at the end. When we turn the steering wheel right ... the outside front tire (left front) leans back at the top, toward the inside of the corner. This helps keep the tire's contact patch optimized on the track surface. It also lets the outside front suspension compress a little farther. The inside front tire (right front) also leans back at the top, toward the inside of the corner. This helps keep the tire's contact patch optimized on the track surface. But the inside front suspension does not compress. The g-forces are not going that direction. In fact, this inside corner lifts more. This is referred to as the jacking effect.

So, what we end up with is the outside rear tire & inside front tire acting as a rotational axis for the car. What happens next cannot be properly described as "pitch" alone ... nor "roll" alone. It is a combination of pitch & roll together, combining for a diagonal Roll Angle transition of the car. This diagonal roll sees the inside rear suspension of the car lifting up ... and unloading the inside rear tire to a degree (right rear in this example) ... with the outside front suspension of the car compressing more ... and loading the outside front tire more (left front in this example). The outside rear tire & inside front tire ... are simply acting as the pivot axis for this diagonal roll.

This jacking effect "de-wedges" the car's suspension. Many of we know that adding wedge (or cross weight) tightens the car and reducing wedge (cross weight) loosens the car.

This jacking effect is a critical process that happens in all race cars when turning. We need this jacking effect to disengage the inside rear tire ... to a degree ... and increase load on the outside front tire ... to assist the car to turn. This de-wedging process is key to any & every track car turning well.

That should be an "ah-ha" moment. Here is the next one.

If we have too much jacking effect ... the inside rear tire gets disengaged too much ... and the car gets loose in the first 1/3 of the corner. If we have too little jacking effect ... the inside rear tire does not disengaged enough ... and the car pushes in the middle of the corner.

What defines the amount of jacking effect?
The spindle KPI & degree of Caster only control the Dynamic Camber angle of the tire & wheel when turned. The Scrub Radius acts as an amplifier. The bigger the Scrub Radius, the farther the tire & wheel are "out" from the spindle pivot axis ... and the more jacking & lifting occurs at the inside front tire, therefore increasing the de-wedging effect and increasing the car's diagonal roll angle.

In the simplest of terms ... more Scrub Radius disengages the inside rear tire ... to a higher degree. While less Scrub Radius disengages the inside rear tire ... to a lower degree. Tighter corners need MORE JACKING EFFECT. AutoX needs more jacking effect. Super high speed corners need less jacking effect.

It is the combination of spindle KPI, Caster and Scrub Radius that ultimately determines how much jacking effect we have. If we have moderate to high Scrub Radius, we will unfortunately need to run less Caster. If we have smaller Scrub Radius, not only can we run more Caster, but we NEED to run more Caster, to help the car turn.

Everything is a compromise, but we can achieve the optimum jacking effect with:
Low Caster ... by running a higher Scrub Radius
High Caster ... by running a lower Scrub Radius
Low Scrub Radius ... by running higher Caster
High Scrub Radius ... by running lower Caster

The optimum set-up that performs best
... is zero Scrub Radius and high Caster ... typically 1.0° to 2.0° more Caster than the spindle KPI. It is optimum, not because it achieves more or less jacking effect. It is optimum because the "zero Scrub Radius" produces the least amount of tire tread squirm & scrub when turned ... and the Caster is utilized to achieve the optimum contact patch & jacking effect.

Let's talk corner exit ...
As we unwind the steering wheel on corner exit ... we are adding "wedge" back into the suspension to help grip the car for faster acceleration. Frankly, this is one part of why running a late apex line is often quicker in tight, low speed corners. It allows us to get the steering unwound quicker ... which adds more rear tire grip for corner exit.

Two key pieces of information:
1. The more compression travel our front suspension has on corner entry ... the more extension travel our front suspension will have on corner exit ... achieving higher levels of rear tire grip ... for a longer distance ... improving our corner exit acceleration.
2. The more jacking effect our front suspension has on corner entry to de-wedge the car ... the more effect the un-jacking effect has on corner exit ... adding back in a higher degree of wedge as we unwind the steering on corner exit ... achieving higher levels of rear tire grip ... improving our corner exit acceleration.

Just FYI: The term "jacking" is also used in racing to describe:
The effect the control arms have on jacking the frame down and compressing the spring through additional leverage with high upper control arm angles. The effect shocks having in jacking the car down in ride height ... front, rear, or both ... when they have very soft compression valving & extreme rebound valving at 0" inches per second.

---------------------------------------------------------------------------------

Let's get clarity on "travel."

Ultimately, for handling purposes, what we care about is wheel travel. the shock is going to travel less. How much depends on the mounted distance & angle. These are simple to calculate.

For road course, oval track & autocross suspension set-ups, our number one focus is compression wheel travel in "dive." Dive is when we are braking hard and turning in race conditions.

How far we are compressing the suspension in dive is either:
Based on our suspension strategy (high or low travel) Limited by the suspension or ground clearance.

If I say a race car has a 3.0" of travel ... that's at front axle centerline & centered in the chassis. Due to chassis roll, the suspension travel is obviously more on the outside corner & less on the inside corner. We may have 3.25" of compression travel on the outside wheel in dive & 2.75" on the inside wheel. Of course, the shocks are moving less than this. If the raw motion ratio was .766, the outside shock would be compressing .766 of that 3.25" ... so 2.49" ... and the shock on the inside would be .766 of 2.75" ... is 2.11".

Obviously, we also need front suspension extension travel. How much depends on our suspension strategy. Low travel/high roll set-ups need more extension travel because in many cases the outside tire & suspension is actually in droop during cornering.

That's not the case with high travel/low roll set-ups. Both sides are compressed when cornering. And, in race set-ups with "mean" shocks ... the front end does not come up past ride height on track ... even under hard acceleration.

Difference in front to rear roll angle:
Track cars NEED to travel the suspension ... to load certain tires more & others less when cornering ... and there are two proven approaches. At the start of this thread, we probably read about the two common suspension strategies. Conventional strategy utilizes stiffer front springs for less front suspension travel under braking & modest sway bars for a higher roll angle. Modern strategy utilizes softer front springs for higher front suspension travel under braking & very large sway bars for a very low roll angle.

Said simply, conventional rolls more & pitches less. Modern rolls less & pitches more. But regardless of the strategy chosen ... the rear roll angle needs to be slightly more the front angle ... to achieve proper diagonal roll and disengagement of the inside rear tire.

Here are two real suspension travel examples in similar cars, with numbers rounded off for easier discussion. (I used these same numbers in a previous discussion on this forum)

Notes:
• These are shock travel numbers, measured in inches, during braking & turning
• The front shocks are 56.5" apart, which helps us calculate front Roll Angle
• The rear shocks are 44" apart, which helps us calculate rear Roll Angle
• + means the shock extended
• - means the shock compressed
• This is a RH corner, for a LH corner, the numbers simply reverse
• These Roll Angle degrees are "close" but don't account for outside tire squish.

A. Conventional Low Front Travel/High Roll Set-up
LF -1.500" ... RF +1.000" ... Difference 2.500" ... Front Roll Angle 2.86°
LR -1.875" ... RR +1.375" ... Difference 3.000" ... Rear Roll Angle 3.21°
Roll Angle difference: 0.35° (more in rear)
Average Roll Angle: 3.04°

B. Modern High Front Travel/Low Roll Set-up
LF -3.250" ... RF -2.750" ... Difference of 0.50" @ 56.5" ... Front Roll Angle 0.50°
LR -0.300" ... RR +0.300" ... Difference of 0.60" @ 44" ... Rear Roll Angle 0.75°
Roll Angle difference: 0.25° (more in rear)
Average Roll Angle: 0.625°

There is a LOT to learn from these notes about these two different strategies.

The major key differences to note are:

• With the conventional set-up, look at how much more the car rolls, measured in inches.
• On the conventional set-up, notice how both the inside front & rear suspensions "extend" & lift.
• In the modern set-up, see how both sides of the front suspension compress. The inside corner does not lift, it just doesn't compress as far.
• In a modern set-up, only one corner ... the inside rear ... actually extends while cornering & braking. Everything else compresses.
• On a conventional setup, note how the rear suspension travels slightly more than the front ... and a lot more than the modern set-up.
• On a modern low roll set-up, note that the front suspension travels significantly more than the rear suspension.

The similarities are:
• Both set-ups have a higher rear Roll Angle compared to the front Roll Angle.
• Both set-ups achieve a similar difference in front to rear Roll Angles.

Regardless of suspension strategy chosen ... low roll, high roll, tweener ... we need the
rear roll angle slightly greater than the front roll angle.
I'm a veteran racer & race car designer committed to staying on the leading edge of racing technology, for one reason, to win. Everything else is BS. I'm only semi-retired because I still love helping build bad ass race cars.

While engineering, geometry, trigonometry, physics & more affect everything in race cars, I do my best to make the complicated easier to understand. One of my racing friends said, "Ron is a race car designer that did not go to engineering school, so he speaks car guy."

Ron Sutton

Race Car Designer
Administrator
*****
Full Member
Posts: 186
Location: USA
State: Florida
City: Ocala
Logged
Shock Motion Ratios:
When we talk shock travels, it naturally leads into control arm motion ratios. I'm only providing the basics to measure motion ratios here. In the Forum section on increasing grip, I'll go deeper into why higher motion ratios help create grip, plus other key details.


 
When it comes to measuring & calculating shock motion ratios (MR), there are four phases or variations... raw, raw with cosine, square & square with cosine.

Raw MR is simply the math of measurements A, B & C. Simply B ÷ C = Raw MR
Example if A = 3.5", B =16.5" & C = 20.0" > 16.5" ÷ 22" = .825 Raw MR
This is helpful to know, but now what we use in further calculations.

Raw MR with cosine accounts for the angle of the coil-over shock & spring. Let's say we have a 17.5° shock angle (inward at the top). I calculate the cosine factor for 17.5° (.9537) & do the math.
.825 Raw MR x .9537 cosine = .7868 is the raw MR with cosine
This means the shock shaft travels .7868 of an inch for every inch the outer ball joint travels. That is helpful. I now know if my outside front is compressing 3.25", I multiply that by .7868 & see my shock shaft is traveling 2.557".
Having the squared motion ratio without the cosine factored in is useless. I hear lazy racers mention it because it is quick to figure out (simply .825 Raw MR x .825 Raw MR) equals .6806 squared MR without cosine. But what do you use that for?

The squared MR with the cosine factored in is THE FINAL NUMBER we care about to get from spring rate to wheel rate. We can get to the same final answer squaring the raw MR number, then multiplying by the cosine factor ... or simply squaring the raw MR number with cosine factored in.

.825 x .825 = .6806 x .9537 = .6491
.825 x .9491 = .7868 x .7868 = .6491
This is .65 if we want to be general.

If we said we want a 265# wheel rate, we would take 265# ÷ .6491 (final MR) = 408.25# spring rate needed. Since springs don't typically come that rate, we'd order a pair of 400#s. With Draco, they come with dyno sheets. With cheaper springs, not only is there no dyno sheet, but they'll vary more.

With Dracos, we might see one spring at 401# & another at 402# & decide which corner we want 1# more rate in. With cheaper springs, if you dyno rated them yourself, you might find 395# & 406#.

Side Note: The same unknowledgeable racers that ask someone what camber should they run also ask what spring rate they should run. Spring rate is meaningless by itself. In fact, it can be confusing. Billy Joe Jim Bob runs down to Racin' Roger & asks what front spring rate he runs, to hear 400#, then run back to put 400#s in his race car.

This is the blind getting blinder. Billy doesn't know what final MR Roger has, or he has. So, he doesn't know what he's comparing. Billy doesn't know if Roger's corner weights are similar or vastly different. Billy doesn't know if Roger is running a low travel, mid travel or high travel setup. And the list goes on. Pretty soon Billy gives up in frustration & doesn't trust anyone. Don't. Be. Billy. Work out the proper setup on your own damn race car & leave Roger alone.

*I'm only partially kidding. Roger may be the mentor you're looking for. I know I've had my share. But at some point, to be competitive, you'll need to stop asking your competitors what they're running.

There will be a LOT MORE on Motion ratios in the Forum section on increasing grip.
I'm a veteran racer & race car designer committed to staying on the leading edge of racing technology, for one reason, to win. Everything else is BS. I'm only semi-retired because I still love helping build bad ass race cars.

While engineering, geometry, trigonometry, physics & more affect everything in race cars, I do my best to make the complicated easier to understand. One of my racing friends said, "Ron is a race car designer that did not go to engineering school, so he speaks car guy."

Ron Sutton

Race Car Designer
Administrator
*****
Full Member
Posts: 186
Location: USA
State: Florida
City: Ocala
Logged
Understanding Front Roll Centers:

Before we delve into the details of Front Roll Centers (FRC) ... I think it's helpful for Racers to take several steps back & look at the big picture of handling ... to better understand the role of the FRC with the rest of the car.

Total weight ... weight distribution front to rear ... and height of this weight (CG) act like a lever over the roll centers. As discussed earlier, lowering the CG shortens that lever, as does raising the RC ... but works the tires less. Raising the CG lengthens that lever, as does lowering the RC ... and works the tires more.

Our goal is to move them both ... to the degree possible ... where we find the optimum balance of working the tires & Roll Angle. If it is a clean sheet a paper race car design, like I do often, the goal is to get the CG as low as possible ... the FRC at 0.00" in full dive, roll & steer (15°) ... and the RRC at the lowest height (spring rate dependent) that achieves neutral handling balance

Picking the target front Roll Center for road course racing is often based on priorities ... and the understanding of three things:
1. Tighter corners need the FRC lower & faster, sweeping corners need it higher.
2. How far the front end has dived in each corner.
3. Whatever we do, it will always be a compromise. Target the best compromise.

---------------------------------------------------------------------------------------------------------------------------------

How Physics Affects our Optimum Target Roll Centers

Example Race Car for discussion only:
•   Rules require a Ride Height of 3.00"
•   We're running a high travel set up with 3.00" of chassis compression in dive.
•   Outside wheel travel 3.25" and inside wheel travel of 2.75"+. (About 0.5° Roll Angle)
•   Front shock valving with significantly stiff zero & low speed rebound valving.
•   We have an effective front splitter providing a measurable degree of downforce at speed.

Our Example Race Car FRC is:
•   1.50" at this 3.00" ride height
•   1.00" at 1.00" of dive
•   0.5" at 2.00" of dive
•   0" in full dive (threshold braking)
•   This range makes the FRC more versatile, but there will still be compromises.

Physics are always in play in race car setups, tuning & dynamic handling conditions. The physics at play here in this topic have to do with speed & g-forces. The lower the corner speeds, the lower the g-forces, the less the chassis/body rolls diagonally ... the tighter the handling. The higher the corner speeds, the higher the g-forces, the more the chassis/body rolls diagonally ... the freer the handling. This is backwards of what we need. Aero is our solution when rules allow.

To restate the obvious, we don't want the race car tight or pushy (understeering) on tight, low speed corners, nor do want the race car free or loose (oversteering) on big sweeping, fast corners. If the FRC didn't move with travel, we'd be in a pickle. But it does.

So, in tighter, slower corners, the Driver is braking hardest & diving the front suspension the farthest ... 3.00" in this example ... and the FRC goes to 0" ground level ... loading the front tires more ... creating a steeper Roll Axis ... all contributing to increase the diagonal roll angle ... freeing the race car up to turn better.

And, in fast, sweeping corners, the Driver is not braking at all. In fact, they're full throttle & accelerating. If these were street car shocks & no aero, the car would be a ride height or higher. But due to the aero & high rebound shocks ... the front end is at 2" ride height (1" compressed) in this example ... and the FRC is 1.00" above ground level ... loading the front tires less than full dive ... creating a tamer Roll Axis ... all contributing to decrease the diagonal roll angle ... tightening the race car up for more stability.

* There are exceptions to all rules. All rules. All. If we have a car with a serious rear wing, the high rear downforce will keep the race car running at a low roll angle through the mid & high speed corners.

---------------------------------------------------------------------------------------------------------------------------------

Also know, when we are changing these control arm angles, we are changing the Camber Gain. Use this to our advantage. A lot of production cars have the swing arms so far out ... there is little to no Camber Gain ... often Camber loss. Plus, in many production cars the A-arm angles put the Roll Center so low it is below ground ... and the CG is high ... giving it a ton of leverage to roll the car ... which is part of why many production cars roll so much.

When we dial in our front geometry ... our goal is to place our RC for optimum handling for the type of track driving we do... and end up with the desired Camber Gain.

Some quick tips:
• Anytime we're shortening the "swing arm" ... we're increasing Camber Gain ... regardless of how we did it.
• Anytime we're shortening the swing arm length ... & keep the IC at the same height ... we're raising the RC.
• Conversely, lengthening the swing arm length ... & keeping the IC at the same height ... lowers the RC.
• Anytime we're raising the IC of the swing arms ... and keeping the same swing arm length ... we're raising the RC.
• Conversely, lowering the IC of the swing arms... and keeping the same swing arm length ... lowers the RC.
There are several software programs out there to calculate Roll Centers. I own & use several. I suggest Performance Trends to Racers often because it is the easiest to use.

*KEY NOTE: When we change the swing arm IC ... length or height ... we are changing the bump steer ... because we are changing the arc the UCA/Spindle/LCA assembly travels in. Another reason why so many people don't like tuning on it.

---------------------------------------------------------------------------------------------------------------------------------

Optimizing the Front Roll Centers:

Most people find working with the front Roll Center difficult, tedious, confusing & laborious ...
and therefore, they don't do a thorough job ... or don't do it all. I love those people as competitors because they're easy to beat. Getting fast ...faster than everyone else at the top levels of competition ... takes work, testing, work, smarts, more work & more testing. And the front suspension ... which is the most complicated ... is the most important key to cornering performance & cornering speed. Because I understand it so well, that has been to my advantage over the years. I'm willing to share with you everything that matters & how I do it.

Reminder: Modern day tuners do not use the Roll Center heights as the primary means of controlling Roll Angle. They set the front RC with the priority to load the tires the most possible & utilize the rear roll center, as well as suspension ... springs, anti-roll bars & shocks ... and track width ... to end up at the optimum Roll Angle & Roll Axis for our race car application.

Moving the Front Roll Centers:
Let's start with the understanding that to move the front Roll Center ... we are changing the angles of the upper and/or lower control arms ... to achieve a different IC. Some changes affect FRC only dynamically in dive ... while most changes affect the FRC both Statically at ride height & in dive. I'll put an * next to the item that only changes FRC dynamically & doesn't show up Statically.

What are (or can be) our tuning tools to change angles:
1. Spindle heights and/or distances from spindle pin to ball joint surfaces
2. Ball joint pin heights
3. Control arm length*
4. Adjustable control arm mounts on the chassis.
5. Also, obviously, any changes in ride height.
6. Not so obvious, but cutting, moving & rewelding control arm mounts

Understanding Front Roll Center Location Pros & Cons:
a. Raising the FRC, places it closer to the CG, reducing the CG leverage, reducing Roll Angle ... and loading the front tires less, but more evenly.

b. Lowering the FRC, places it farther from the CG, increasing the CG leverage, increasing Roll Angle ... and loading the front tires more, but less evenly.

c. For tighter corners, with threshold braking, which are the hardest & most critical to lap times, I've found the FRC height happy window to be quite low ... 0" in fact. Dead zero ground level creates the highest leverage & loading for front grip. Remember, this is for the tight corners.

d. Never allow the FRC to dive significantly below ground dynamically. A smidge is OK. But when the FRC is significantly below ground (as a lot of cars are by Racer negligence) the car will feel how you feel on the top deck of a cruise ship in rough waters. Most race Drivers describe it as floaty & unstable. We don't want a "floaty, unstable" race car when we're threshold braking into tight corners, coming in hot from 100+ MPH!

e. If the FRC migrates to the outside of the corner ... it will work the front tires less evenly. Typically, the outside tire is over loaded & over worked, while the inside tire less is under loaded & under worked. This is reducing total front grip.



f. If the FRC migrates to the inside of the corner ... it will work the front tires more evenly. The outside front tire can be worked to its optimum grip ... but at a higher speed. The inside tire will be loaded more, to create additional grip that other setups do not. This will increase total front grip.  Even more so, if the inside front tire dynamic camber & Ackerman are optimum.



g. For fast, sweeping corners that we're not on the brakes & in fact are accelerating through ... aero comes into the conversation about what is the optimum front roll center height. Realize we are only slightly turning, but pulling maximum g-forces through these sweeping, high speed corners.

Let's break the conversation into two distinct race car models ... one without aero & one with. Let's start with a race car with no significant rear downforce (due to lack of effective rear spoiler or wing).

Visualize the roll axis side view of this race car. If we have the Front Roll Center at 0" Ground Level & Roll Axis optimum & the handling balanced for the hard braking, tight, low speed corners ... we will be loose in the high speed corners ... unless we have agents to correct that.

Of course, through the sweeper, the front end is not in full dive.  It is raised up somewhere between mid-travel & ride height. So, the front roll center is higher. This is helping the handling balance to some degree, because the higher the FRC, the lower the front grip. Airflow under the front of the car is tightening up the handling balance as well. 

If by rules, we can not run an effective rear spoiler or wing, there are Agents we can employ to help that race car be fast & safe through the sweeping corners.
1.   If we employ an air dam and/or front splitter to keep the front end lower than ride height ... we'll call this mid-travel ... we need to design the suspension geometry to place the FRC up pretty high ... probably up in the 2.5" to 3.5" range. A high travel setup will help us here, so we can have the FRC lower in full dive & higher through the sweepers.
 
2.   If we do not employ an air dam and/or front splitter ... and the front end raises up around ride height ... the front end lift will reduce the front grip a lot, so we don't need any help in reducing front grip from the FRC height. We need to design the suspension geometry to place the FRC up high ... probably up in the 1.5" to 2.5" range. A low travel setup will help us here, so we can have the FRC lower through the sweepers ... and still end up 0" in full dive. 

On the other hand, if we can & do run our race car with an effective rear spoiler or wing (assuming rules permitting) ... we for sure want to run a front air dam & splitter. 

Let's visualize the roll axis side view of this race car with aero. If we have the Front Roll Center at 0" Ground Level & Roll Axis optimum & the handling balanced for the hard braking, tight, low speed corners ... the rear aero downforce will allow us to balance the handling through the fast sweepers.  So, we're not relying on the height of the FRC to achieve balance.

The optimum setup would be to utilize high rebound shock valving to slow the front end rise coming out of the corners. As the speeds increase, so will the downforce on the front splitter.  Depending upon how effective we can be (and fit in the rules) we may be able to keep the front end mid-travel or lower.

Note: The road race cars I've ran and/or crew chief, run entire races never getting back to static ride height (and static roll center). The cars that do get back to static ride height & roll center, are typically race cars on regular shocks (no tie down), low or non-effective front aero & are full throttle through the high speed, big sweeping corner of certain tracks.

Now ... we don't need the FRC as high. In fact, we'd like it lower for more front grip. Depending on how well our aero works, we could design the suspension geometry to place the FRC around 1.0" to 1.5". This would be a super fast, high grip setup through the sweepers, while still being rocket fast through the tight stuff. A high travel setup will be best here, realizing the front of the race car never gets back to ride height.

While we're on this, with effective rear aero & downforce, we can run the rear roll center lower as well ... WITHOUT inducing any higher roll angle. The aero downforce is assisting to keep the race car at a lower roll angle. This must be taken into account when designing the geometry.

Quick Summary:
* The lower the Front Roll Center to the ground (without going below ground) the more front grip possible.
* The Roll Center migrating (during roll) to the inside front tire, makes more inside front tire grip, and more total front grip, possible.
* Both of these contribute to more chassis/body roll that needs to be dealt with via suspension setup.
* Aero matters. It effects the height location of our roll centers. Effective aero allows us to run lower roll centers & have much higher total grip.

For optimum cornering ability, we need to WORK the tires ... and low RCs combined with big front sway bars & higher rate rear spring combos work the front tires while keeping the Roll Angle low. Effective front & rear aero alsow help to keep the race car at a lower roll angle, even though the g-forces are much higher. In summary, don't use the Roll Centers as your primary tool to control the car's Roll Angle. Utilize the roll centers to maximum grip. 

Lastly, once I have tested & worked out an optimum front end set-up for a type of track ... we "lock it in" and don't change it at the track. So, this is NOT something we're constantly tuning on ... just initially. At the track, the optimum front end geometry is the optimum front end geometry ... so as the track changes throughout the day ... we're tuning on other stuff to keep the car "balanced".
   
--------------------------------------------------------------------------

Final Front Suspension Summary: We covered a lot of ground for the front suspension, including:
•   How to utilize spindle KPI plus static & dynamic camber, caster & Ackerman combined with toe-out & bump out to achieve the fullest contact patches on both front tires.
•   How the lengths of the control arms affect camber gain & geometry change
•   How lower scrub radius increases grip in tight corners & how to achieve it
•   Why anti-dive matters & the target % I use
•   The role static & dynamic roll centers play, where we want them to migrate & how they form the Roll Axis critical to proper race car handling
•   How & why to work all four tires when needed, through lower roll angles & dynamic Ackerman
•   What jacking effect is & how to utilize it when disengaging the inside rear tire to a degree while turning & reengaging it for higher grip on exit
•   How tire slip angles work, why they're important & how we get them to the peak of grip with driver & Ackerman.
•   How to calculate motion ratios & shock travels

Next up is Steering!
I'm a veteran racer & race car designer committed to staying on the leading edge of racing technology, for one reason, to win. Everything else is BS. I'm only semi-retired because I still love helping build bad ass race cars.

While engineering, geometry, trigonometry, physics & more affect everything in race cars, I do my best to make the complicated easier to understand. One of my racing friends said, "Ron is a race car designer that did not go to engineering school, so he speaks car guy."

Ron Sutton

Race Car Designer
Administrator
*****
Full Member
Posts: 186
Location: USA
State: Florida
City: Ocala
Logged
OKAY ... Let's Talk Steering & Steering Geometry!

Rack & Pinion Steering:
I fully cover steering box steering optimization later. But first we're going to discuss rack & pinion steering. You can apply most of this to OEM rack & pinion steering units, but we only run racing quality racks. Primarily from Sweet & Woodward.

Racks are quite simple & yet complex at the same time. In our case we have a pinion gear with angle cut teeth (due to the steering column attachment angle) riding on a "rack" with similar cut teeth. As the pinion rotates, it moves the rack & steers the car.  With power racks, we have a hydraulic assist making the steering easier. Very important with high grip, ultra wide front tires. Since none of us here are going into the rack & pinion building business, we'll keep the discussion to stuff we care about.



Rack characteristics:
The things we care about when picking a rack are:
1. Ratio or steering speed
2. Torsion bar size (feel of resistance)
3. Rack length (to define inner tie rod pivot points)
4. Hydraulic power level to assist steering monster front tires
5. Ability to handle pressure & volume needed
6. Cost?  Hell no.  Get the right rack or suffer a lifetime of problems.

Rack Steering Ratios:
Internally these work similar to ring & pinion gears in that there is a ratio of teeth on the pinion to the rack itself. Unless you're rebuilding your own racks, all we care about is getting the ratio we need. This is a somewhat personal choice, as some drivers prefer the steering to be lightning quick with very little steering input, while others want the opposite.

In my experience quicker ratios help when you're running super tight tracks. Especially autocross. There are national level autocross racers that run rack ratios in the 4's!  But to be fair, they have pretty long steering arms, so that plays a role. We need to look at the whole picture of steering wheel diameter, rack ratio, steering arm length & driver preference. 

Let's start with the steering wheel. Small steering wheels look sexy as hell. But the smaller the steering wheel, the less control the driver has. It is harder to be smooth with a smaller wheel. For that reason we ran 15" steering wheels in all of our oval track & road racing cars. It provides the driver much more control & the ability to be smoother ... which is absolute key to race track performance. 

If you're running a 15" steering wheel, you may rack the rack to be a bit quicker, than if you were used to smaller steering wheels. The driver will need to work this out, as it is a personal preference. Once you have steering wheel size nailed down, you need to look at the steering arm length on the spindle. I suggest you ignore the "static" length of the steering arm ... when it's on the workbench. This is because the steering arm will be effectively longer or shorter when you dial in significant caster. For example, our front steer Track-Star steering arms are slotted for slugs. The range "on the workbench" with the spindle standing straight up, is 4.25" to 5.25". But when we install them on the car at 10.85° caster, the "effective" steering arm length is 3/4" to 1" longer, as the tie rod rolls up & away from the FACL.  This illustration shows a Track-Star Spindle & Steering Arms inside an 18" Forgeline Wheel @ 10.85° caster.

The relationship of the steering arm to the axle centerline affects which direction the outer tie rod will move ... as does how much spacing you have between the steering arm & actual tie rod end. In this example illustration, you can see the steering arm is 3.875" below the axle centerline. But, the outer tie rod end is even lower than that. We all know where it eventually ends up is affected by your bump steer ... and that changes with different control arm locations. So, there is no one dimension we can say is a constant.



The example above is with a .25" slug in the steering arm, so the "Static" length of the steering arm was 5.00" on the workbench, with the spindle standing straight up. You'll notice in the illustration, I have two different outer tie rod heights. You can see the higher tie rod end produces a 5.78" "Effective Steering Arm" length. And the lower tie rod end produces a 5.96" "Effective Steering Arm" length. Obviously the higher rod end & shorter "Effective Steering Arm" length will produce quicker steering & vice versa. So again, rack ratio or any one thing doesn't give us the whole picture on steering rate/speed.



Not all spindles are like that.  Look at this C6 Corvette spindle above. You can see the bottom of the steering arm is not too far down from the hub centerline. Of course, the tie rod will be further down. But  not much, when we dial in 9°-11° of caster, the "Effective Steering Arm" length will actually stay pretty close to the same. You'd have to run a bunch of caster to get the arm to go shorter, but obviously that is what would happen if we did.

Another different example with our PRO-GT spindles (see image below) where the spindle was designed with the target caster "built in" with the spindle basically straight up. This is also a front steer spindle, so you can see the upper monoball behind the FACL & the lower monoball ahead of the FACL. This particular spindle has 10.5° caster designed in. If we need to fine tune it 0.5° or less either direction, the effective steering arm length won't change much. Make sense?



Now, what if we have REAR STEER spindles? The opposite happens. As we add caster, and the spindle & steering arm rotate down & towards the FACL, the "Effective Steering Arm" length gets shorter. This is why I tell Pro-Touring guys to not compare 1st gen F-Body & X-Body spindles & steering arm lengths to other GM models, like the 64-72 A-Bodies that are front steer. It's not apples & oranges, even though the spindles are the same & the arms are interchangeable. Direction matters. A lot if you're running significant caster. Less if you running minor caster (1°-3°) like they did off the assembly line "back in the day."



Summary, measure & take "Effective Steering Arm" length ... and Steering Wheel size ... into account when working out your rate of steering. 

Rack Torsion Bars:
Torsion bars inside of rack & pinion units (and some new design steering boxes) actually work like a suspension torsion bar, in that they twist. They come in sizes (diameters) to define how much twist they have. Smaller torsion bars obviously twist more & make the steering feel easier or lighter. Stiffer torsion bars twist less & make the steering feel harder or heavier.

Available sizes of Rack & Pinion torsion bars range from .150" to .300." The small .150" feels like the old Cadillacs felt, where you could steer with one finger.  The problem with that, for track & racing applications, is the lack of feel of what the front tires are doing coming through the steering wheel. The front tires could be pushing like a dump truck, but the steering wheel still feels light & easy to turn. Not good.

Picking the right torsion bar is a personal decision to some degree, but the application comes into play as well. The large .300" feels like the steering is bound up a little. It is hard to turn. Small drivers literally need both hands & wear themselves out in just a few road course laps. Not good. So we need somewhere in-between. My guideline is this ... .185" for "Cruiser" street driving. .200" for minor sporty driving with light drivers (under 160#). .210" for sporty driving with the average Driver (185#). And .220" for sporty driving with bigger, stronger Drivers. These sporty rates are easy enough to steer ... not going to wear you out ... but will give the Driver good feedback as to what the front tires are doing. Going up to .235" or .250" is for high speed activities ... Daytona Stock Car, Standing Mile & Bonneville type events. Ultimately, the Driver needs to decide what works for them.

Rack PSI & Pump Volume:
Your power steering pump is a critical key to your rack & pinion steering system. We care about pump volume first, then it's ability to handle pressure. Pump volume is the MOST critical item to ensure the rack has the POWER to do its job. Simply put, a pump with more volume assists the rack more & a pump with less volume assists the rack less. 

Pressure in the rack & pinion hydraulic system is not what determines how much assist we get from the pump. The pressure we see is created from RESISTANCE in the hydraulic system. This resistance is generated by the rack struggling to turn the front wheels. That resistance is what causes high PSI in the hydraulic lines.

Wider tires =  More resistance & hydraulic pressure
Better contact patch =  More resistance & hydraulic pressure
Higher CoF slicks = More resistance & hydraulic pressure
More downforce on front tires =  More resistance & hydraulic pressure

So, the faster we want to go, the more assist we need & the better, more powerful rack & pinion we better use to handle it. I see these Mustang power racks fail by the dozens. When you put too much tire & load on them, they blow out the seals. There are Mustang rack Gurus out there (Dan Binks) that rub on them to make them live. But a better choice is buying a better rack. 

We run Woodward & Sweet racks.  With them, there are three common hydraulic assist options:
Woodward CF Racks = Internal hydraulic cylinder with 1.625", 1.75" & 2.00" bore
Woodward HL & GL Racks = External hydraulic cylinder with 1.375" bore
Sweet = External hydraulic cylinder
Sweet = Extra Large Piston external hydraulic cylinder









I'm a veteran racer & race car designer committed to staying on the leading edge of racing technology, for one reason, to win. Everything else is BS. I'm only semi-retired because I still love helping build bad ass race cars.

While engineering, geometry, trigonometry, physics & more affect everything in race cars, I do my best to make the complicated easier to understand. One of my racing friends said, "Ron is a race car designer that did not go to engineering school, so he speaks car guy."

Ron Sutton

Race Car Designer
Administrator
*****
Full Member
Posts: 186
Location: USA
State: Florida
City: Ocala
Logged
#9
Rack Plumbing:
The diagram from Woodward above shows what not to do, and how to do it right. I will add in a large, baffled reservoir solves a lot of issues. The wrong power steering fluid causes a lot of issues ... leaks & poor performance. The Woodward illustration & text below show what having the wrong fluid does to seals.





Rack Installation:
Keeping this simple, because each application will have its own unique needs. Assuming front steer, moving the rack back towards the FACL, increases Ackerman & moving it forward away from the FACL decreases Ackerman. Rear steer is just the opposite. We make the rack mounts on our Track-Warrior chassis slotted, so the car owner has about 1/2" fore & aft range of Ackerman tuning.

Adjusting Ackerman with a Rack is quite easy, although there is not always room to do so. The engine can be in the way. When I'm designing new chassis or front clips, the engine location has to be known beforehand. Since the location of the heavy engine & trans ... fore & aft, up & down ... play a huge role in the car's CG location ... we have to give the engine location priority.

Many, many ... too many ... road racing series limit how far back the engine can go to the #1 spark plug at the FACL. Well crap. That places the front of the damper or pulleys 6.5" or more ahead of the FACL. That makes the rack 8" or more ahead of the FACL.  Not good for Ackerman. There are things we can do to get some Ackerman back, but a rack that far ahead of the FACL sure makes it hard. So I love designing race cars with the engine back ... far ... faaar back. In our GTX, GSX, GTL & GTF chassis & clips, we place the #1 plug 8.75" to 9.00" behind the FACL. That gives us two get benefits ... a race car that is 50/50 F/R weight bias ... and rack location to achieve whatever Ackerman we want. But those pesky race series rules.

Raising the rack leads to a bump steer curve with more "bump-out" ... meaning more toe-out during bump steer in dive.

Lowering the rack leads to a bump steer curve with more "bump-in" ... meaning more toe-in during bump steer in dive. The opposite is true in lift.

Getting the bump steer to be happy & do what we want is a LOT of work, because if we change one thing, the other key items go out of whack. Getting the optimum rack width, or centerlink inner tie rod pivot width, is a big key to achieving a happy bump steer curve. That is why I designed the new AXT-Star Centerlink with centerlink inner tie rod pivot points that can moved in or out, as well as up or down.
The challenge is, if we move the rack or centerlink pivots up or down, forward or rearward, the optimum width CHANGES. So, in designing a steering package, we have to get the window for engine & oil pan clearance nailed down first. Then we need to test combinations of height & width of the pivot points until we achieve the best scenario.

Changing the suspension parameters changes the optimum steering parameters. If we take a package optimized to travel X.xx" in dive & X.x° ... with optimum steering ... and then move the control arm and/or ball joint pivots to optimize roll center & camber for a different travel and/or roll target ... we throw that optimum steering out the window. The bump steer can not stay optimum if we adjust the control arm and/or ball joint pivots. So, all of this needs to be worked out as a total combination, which all RSRT suspensions & steering have been. If you want to change the dive or roll of your RSRT package down the road, we will work with you to get the steering re-optimized.

Rack Length:
This is pretty straight forward, but overlooked by those not in the know. Rack length obviously determines where your inner tie rod pivots are and how long the effective tie rods end up being. This plays a HUGE role in your bump steer curve. The length of the rack should be chosen to achieve your target bump steer curve. Any other reason is bullshit.

Achieving the Optimum Bump Steer Curve with a Rack:
When we're building a new front suspension from scratch, and the packaging parameters allow us to fit in a great rack & pinion, like our Sweet or Woodward Road Racing racks ... in the correct location for optimum Ackerman ... that's the best way to go.

That's not to say ANY rack is better.
No way. Most OEM racks & aftermarket racks copied from of OEM racks ... suck. They don't have the power nor the strength to handle today's cars with 315 or larger front tires. Heck, the super common 79-93 Mustang rack fails in cars with 275 front tires. I've seen those guys bringing not one, but two spare racks to the track.

Most OEM racks are too wide for race car applications. The C6-C7 Corvette rack & pinion is a good piece. But it is way too wide to work in applications any narrower than the C5/C6/C7. When we put a rack with the pivots too wide in a car the bump steer curve is ugly as #$@*&.  Yes, you can get one point of the travel to hit your target bump steer number ... but the travel on either side of that number is funky. We should never run a rack that has the pivots at the wrong width for good bump steer characteristics. Nor is "ok" to put a rack in the wrong location, where Ackerman suffers.

In general, if we want more Toe-Out in dive:
  * Raise pivot at rack or inner tie rod end at centerlink
  * Or lower the outer tie rod end

In general, if we want less Toe-Out in dive:
  * Lower pivot at rack or inner tie rod end at centerlink
  * Or raise the outer tie rod end

A lot of Racers bump steer the car wrong. The most common mistake is checking & setting the bump steer at maximum travel each way, up & down (Rise & Compression). Who cares what the bump steer is at 4" of compression travel ... if your target dive travel is 3"?  When I'm working out the bump steer curve for race cars, I set my measuring parameters ... either on the car or in software ... based on the target dive amount ... and the expected rise amount above ride height.

Let's talk dive first, because that is the priority. If I know we're going to dive the race car 2-5/8" ... I'll calculate how much further the outside tire will travel with chassis roll taken into account. If I'm working in software, like Performance Trends, I don't have to calculate anything. I just put the car in a dynamic state with 2-5/8" dive, whatever body roll I'm targeting & add in a set amount of steering (I usually do 15°) ... and read how much travel the outside front tire traveled.

If I'm working without software, bump steering a car in the shop, I use a rough guide to help me, which is 1° of chassis roll is about 1" of travel difference. This is dead on accurate at 57" track width, which is surprisingly close to the 54" to 60" track width of so many road race cars. If I need to calculate the exact amount, just run the percentages like so. If the track width is 60" ... which is 3" greater than 57" ... the math is 3 ÷ 57 = 5% ... so .95" of travel difference is 1° chassis roll with a 60" track width. 1.05" would be the travel difference for a 54" track width.

When I say "1 inch of travel difference" ... that means the outer tire & wheel will compress 1/2" more than the actual front end dive amount (at the chassis centerline) and the inner tire & wheel will compress ½" less. So after the math, I add the 1/2" to the target dive of 2-5/8" to know the highest travel in dive is 3-1/8". That is where I want to bump steer each side if the car. Make sense?

I have a go to baseline for toe-out & bump steer, assuming I have a good front end design & I can get the Ackerman I want. My baseline is 1/16" static toe-out per side, 1/8" static toe-out total. Then at my target dive, I want to see 1/16" more total toe-out, for a dynamic toe out total of 3/16" ... before we turn the steering wheel. Obviously, when we turn the steering wheel, Ackerman comes into play. On a side note, in race lingo we'd say this race car has 1/8" of bump out in dive.

If I'm working on a race car where I can not achieve the Ackerman I want, I will increase the amount of bump-out in dive to help the Ackerman. This is not ideal, but frankly the down side of tiny increased tire friction under braking is pretty minimal.

Now let's talk about bump steer "curves" ... not just the bump steer amount. You hear that term "bump steer curve" ... but what does it really mean. Well look at the two bump steer graphs below & you'll see they have two very different curves. Neither one is good. Just a starting point for our discussion.



Look at the bump steer graph above. If the bump steer shows toe-IN in rise (from ride height), then toes OUT initially in dive ... and then toes back IN with further dive = the Rack or Centerlink mounting points for the inner tie rods are too narrow. Being wider would help straighten out your bump steer curve.

Look at the bump steer graph below.
If the bump steer shows toe-OUT in rise (from ride height), then toes IN initially in dive... and then toes back OUT with further dive = the Rack or Centerlink mounting points are too wide. Being narrower would help straighten out your bump steer curve.



Now, what does a good bump steer curve look like? I think we have to be realistic in our expectations. We're working in a box of parameters set by rules, priorities & strategies. Rules often determine where the engine is, which affects where the rack is. Rules determine ride heights, which affects our choice of dive travel strategy. Getting your splitter on the ground & the CG as low as possible may take higher priority than what the bump steer curve looks like. But we should work as hard & long as it takes with different rack lengths & heights to achieve the best bump steer curve we can. 

The image below shows a very sweet green bump steer curve. I'll break it down. The first inch of dive is basically zero bump steer. So is the first 1/2" of rise. We have an 1.5" of zero bump steer to keep the tire contact patches stable & happy over rough stuff. Then, in full dive, under hard braking, we have the bump-out we want to help the Ackerman. And if we were to have the race car rise above ride height (rare with our shocks & aero) the toe-out reduces a little. Absolutely beautiful curve.



Most of my Race-Warriors have this curve above. But frankly a couple don't. It is not always possible. Especially if we don't have the ability to change the rack width, or enough range of mounting location. Moving on to another example below. The green line shows almost straight all the way. Some people think if the line is straight it must be all good. When I see this, I know the rack is the wrong width. In this case it was 23.25" wide. The green bump steer curve in this car changes too much, too quick with this setup. We need to run the software with a lot narrower rack & find a better curve.



See image below. This is with a 19.25" rack. Yes, 4 " narrower. The green curve is the same as above. The blue curve is the 19.25" rack. Again, we want that first 1/2" or more of compression travel to be gentler in the bump-out change. The tire needs it.



I hate the green bump steer curve in the graph below. The bump-out in this car changes horribly quick with this setup. But it's the best you can do sometimes if you're stuck with the wrong width rack or centerlink. This happens to be a Mustang, rear steer, steering box car with a centerlink 18.5" wide at the inner tie rod pivot points.


 
See the blue bump steer curve in the graph below. I "fixed" the bump steer in the software by changing the centerlink to 24.0" wide inner tie rod pivot points. The problem is no centerlink is that wide at the inner tie rod pivot points. None. Nadda. There is not enough room to make one that wide. So, while this may look cool in the software, it is unrealistic in the real world, and we're stuck with the green[/b] bump steer curve in this old muscle car. 



Sometimes, in the box of parameters, you can't get near perfect. You simply have to choose between the lesser of two evils. See the image below.  The blue graph is not perfect by any means, but is a lot better than the green[/b] graph. The both arrive at the same bump-out target of .094" toe-out on each side. But the blue curve is gentler & does not toe IN, then Out, like the green curve.



I like to say I design race cars in the real world. By that, I mean I'm working within the parameters of what is really available to buy or have made. Steering racks for example, come in 1/4" width increments. If I end up designing a race with a XX.065" width, with a beautiful curve, what the heck is that good for? Notta. Now with a steering box & our new AXT-Star Centerlink with movable inner tie rod mounts, we can achieve fine tuned numbers, but still within the width range of the centerlink.    

Here is situation (image below) where the rack difference is 1/4".  The blue line represents the best bump steer curve with a 26.25" wide rack & the green line represents the best bump steer curve with a 26.00" wide rack. If we knew the race car had no aero downforce in the front, so would see rise above ride height, I'd choose the blue line setup to avoid going into as much toe-out is rise. If we knew the race car had good aero downforce in the front, so would not see rise above ride height, I'd choose the green line setup due to its slower bump-out curve.



Let me share a piece of advice to save you money & help you perform better. Pick your suspension strategy & work out your geometry before you buy your rack & pinion. Anytime you move the control arms, slugs or ball joints around, you change what is optimum for the rack length. So lock your geometry down before you buy a rack. Buying different lengths racks can hurt any budget & the incorrect length rack hurts performance.

I'm a veteran racer & race car designer committed to staying on the leading edge of racing technology, for one reason, to win. Everything else is BS. I'm only semi-retired because I still love helping build bad ass race cars.

While engineering, geometry, trigonometry, physics & more affect everything in race cars, I do my best to make the complicated easier to understand. One of my racing friends said, "Ron is a race car designer that did not go to engineering school, so he speaks car guy."

Ron Sutton

Race Car Designer
Administrator
*****
Full Member
Posts: 186
Location: USA
State: Florida
City: Ocala
Logged
Let's Talk Steering Box & Drag Link Systems

Steering:
• You can stay with the steering box & centerlink style or switch to Rack & Pinion. Both
have pros & cons.
• The R&P is lighter & more compact. The steering box & centerlink style is stronger &
has more, easier adjustability.
• If you go R&P, consider the race versions with adjustable ends from Woodward or
Sweet.
• If you go steering box style, get away from the older Saginaw steering boxes. The technology has advanced & those old boxes have soft gears to intentionally wear out quicker.
• Consider the Delphi 600 series box, rebuilt from one of the racing companies, or the new units from Borgeson. Both of these utilize the latest steering box technology.  They have a torsion bar inside, like a rack, to set the steering feel.  The .210" torsion bar is a great starting point.
• Lastly, you'll want an adjustable, race quality centerlink & idler arm plus a good steel pitman arm.



This is personal preference. I am a fan of super fast steering when I have a smooth handed driver.
But to figure out how fast or slow a steering system is ... you have to look at the four major things dictating that ...
#1 Steering box ratio
#2 Steering arm length
#3 Pitman Arm Length
#4 Steering wheel diameter

Most standard steering boxes are rated in ratios, but they convert easily:
8-1 = 3" per turn
10-1 = 2.75" per turn
12-1 = 2.5" per turn
14-1 = 2.25" per turn
16-1 = 2" per turn
18-1 = 1.75" per turn
20-1 = 1.5" per turn

If the ratio is from the OEM, the pitman length is included in this equation. If you're buying a racing box & it's called an 8-1, you may want to confirm what length pitman arm they referenced & the pitman arm length you plan to run. You can do the math and figure out how many turns of the steering wheel you have, or need, and compare it to different combinations.





I'd love to say all spindle & steering arm combinations turn a set degree with no other variables. But we all know ... they are always other variables.  Inner tie rod end location plays a role in the math. When the inner tie rod ends line up with the outer tie rod ends ... both fore & aft and up & down ... the steering rack or centerlink movement will produce the highest spindle steering degree. But ... when the inner tie rod ends are locating ahead of or behind the outer tie rod ends ... we will see slightly less spindle & steering arm turning degree.  Same when the inner tie rods are at different heights than the outer tie rod ends. I'm not trying to make this more complicated than it is. I just want you to know simple math on paper can be close, but not accurate in every situation. For this reason, I always use software.

Back at the Ranch, again, when we're building a new front suspension from scratch, and the packaging parameters allow us to fit in a great rack & pinion, like our Sweet or Woodward Road Racing racks ... in the correct location for optimum Ackerman ... that's the best way to go. That's not to say ANY Rack & Pinion is better than a good steering box system. No way. Most OEM racks & aftermarket racks copied from of OEM racks ... suck. They don't have the power nor the strength to handle today's cars with 315 or larger front tires. Heck, the super common 79-93 Mustang rack fails in cars with 275 front tires. I've seen those guys bringing not one, but two spare racks to the track.

Most OEM racks are too wide. The C6-C7 Corvette rack & pinion is a good piece. But it is way too wide to work in applications any narrower than the C5/C6/C7. When we put a rack with the pivots too wide in a car the bump steer curve is ugly as #$@*&.  Yes, you can get one point of the travel to hit your target bump steer number ... but the travel on either side of that number is funky. We should never run a rack that has the pivots at the wrong width for good bump steer characteristics. Nor is "ok" to put a rack in the wrong location, where Ackerman suffers.

So again, if we're designing something from a clean sheet of paper, to be bad ass, like our Track-Warrior front clips or the Speedtech Extreme clips & chassis I designed that use the right width Sweet Road Racing rack ... then great. Otherwise, if the car came with a steering box that utilizes a centerlink, pitman arm & idler arm linkage ... we are BETTER OFF to get that system right, than to swap in a weak ass rack in the wrong location.

There is NOTHING wrong with the performance of a steering box system ... if we get everything trued-up, equal & optimized. They did NOT come that way from the factory. GM, Ford & Chrysler had  different priorities than we do. The next section will tell you & show you exactly what to do to true up & equalize your steering box & steering linkage.
I'm a veteran racer & race car designer committed to staying on the leading edge of racing technology, for one reason, to win. Everything else is BS. I'm only semi-retired because I still love helping build bad ass race cars.

While engineering, geometry, trigonometry, physics & more affect everything in race cars, I do my best to make the complicated easier to understand. One of my racing friends said, "Ron is a race car designer that did not go to engineering school, so he speaks car guy."

Ron Sutton

Race Car Designer
Administrator
*****
Full Member
Posts: 186
Location: USA
State: Florida
City: Ocala
Logged
NOW... How to Square & Equalize Your Steering Linkage

What we care about, and therefore what needs to be fixed & optimized in our steering, is:
  • Squaring the steering linkage, so the car steers the exact same both ways (they usually don't).
  • Truing & equalizing the steering linkage dimensions & angles so it doesn't drop or arc differently.
  • Eliminating any bind or stiction in the steering that telegraphs incorrect signals to the driver.
  • Getting the Ackerman optimized, to increase the inside tire slip angle to increase front end grip.
  • Utilizing the increased Ackerman to increase caster on the inside front tire for a full contact patch.
  • Eliminate any slop, or delay, in the steering, so the car responds quicker at corner turn in.
  • Relocating the inner tie rod pivot points to achieve the cleanest, smoothest bump steer arc.
  • Performing the bump steer operation to achieve our bump steering goals.

Ok. Before we get rolling here on the "How-To" square & equalize your steering system, you need to know this is quite involved. All winning race teams don't give it a second thought. But realize you're looking at 2-3 days of patience trying work if you're new to this. If you're not up for it, then reconsider buying a complete clip or chassis for your car. But if you are "committed" to making your car handle, steer & perform at high levels on track, autocross, etc ... here are the instructions, in order:

Step 1. You need to "True-Up" your steering box. The box isn't the problem. It's the old, stamped, formed & welded OEM frame rails. You want to use shims & machined washers (no stamped washers) in-between the frame & steering box (Green Dotted line in Image Below) on the 3 or 4 bolts attaching it to the frame ... to get the box BOTH level with the earth & parallel to the chassis centerline. Use as few shims/washers as possible, so not to push the steering box inward toward the chassis centerline, anymore than necessary to get the box level with the earth & parallel to the chassis centerline.



Step 2. (See Image Below) You will want to get a pitman arm (the arm that goes on the splines of the steering box – blue dotted oval) and the idler arm (the arm that bolts to the passenger side frame rail – Green dotted oval) to have the same length arms.
Sometimes they come that way from the factory ... often not. It's not uncommon to see the idler arm and inch or so shorter or longer than the pitman arm.

Look again at the photo image below to see the relation of the idler arm to the pitman arm.
•   If the length of these two arms is different ... you have issues.



See example of a 5" & 6" arc in the illustration below on the left side. The arc is very different, but those arms are only 1" different length. If the idler arm & pitman arm are different lengths, the ends of centerlink will be on those different arcs. It can not stay a true 90° to the chassis. Your car will ... if it doesn't already ... steer differently & handle differently on left & right corners.



Look again at the photo below:
•   If the pivot axis of the steering box (purple dotted line in the image below) differs from the pivot axis of your idler arm ... your centerlink won't stay a true 90° to the chassis ... and you have issues.
•   You want to measure the steering box pivot axis in degrees (Image below) & mount (or remount) your idler arm shaft to the same angle to have true & square steering.



OK. Let's fix it! Measure your pitman arm & save that number. When you look at various length pitman arms, realize that shorter arms slow the steering & longer arms quicken the steering. When you get a new pitman & idler, they need to match in length. It would be helpful to use an idler arm that is adjustable for height to make getting the centerlink level & bind-free an easier chore.  The Howe Idler (shown below) has the arm on a threaded adjuster. It is quick & easy to adjust the height & get the centerlink level & bind free. We also use a idler arm from Wenteq racing (not shown) that uses spacers & shims to adjust the height.



If you purchase our steering box & linkage package, called the AXT-STAR Steering System, it comes with all the correct components to create amazing steering. You have work to do to square up your steering. The kit just gives you the right parts to do the job. The Howe or Wenteq Roller Bearing Idler Arm & Howe or ProForged Pitman Arm that's included in your package are the same length. Both the Howe or Wenteq Roller Bearing Idler Arm are adjustable for height to make getting the centerlink level & bind-free easier.

Step 3. Decide on centerlink. You have options that vary in cost. Ideally, budget permitting, you'll use a "slotted & slugged" centerlink that allows you to adjust the height of the inner tie rod pivot. The images below show one from Allstar & the other is our Track-Star versions with bearings on each end. What most folks don't think about ... is when they lowered their car significantly ... the steering linkage & inner tie rod pivots lowered as well. But your outer tie rod did not.

To get your bump steer curve smooth again we can't just lower the outer tie rod point alone. We're below the proper axis & need to raise up the inner tie rod pivot point. With the Allstar & RSRT Track-Star racing centerlinks, the spacers & shims on the outer posts can adjust the centerlink height lower or higher from the pitman & idler. Then with precision offset slugs, we can place the inner tie rod end at the optimum height.

The Allstar offset slugs are 1/8", 1/4" & 3/8", giving us a range of 3/4" in 1/8" increments. If that range works, we can fine tune height smaller than 1/8" with shims in the outer pivot posts. The RSRT Track-Star offset slugs are offer a range of 1.50" in 1/16" increments. If we need to get tighter than that, we can fine tune height with .005" & .010" shims in the outer pivot posts.



With the Allstar & RSRT Track-Star billet steel centerlinks, we also move the inner tie rod pivot point outward as this shortens the overall tie rod length. This helps the bump steer curve even more on lowered cars.  Another difference in these two are the Allstar utilizes greasable stell bushings on the outer pivot posts, while the Track-Star utilizes bearings.



The AXT-STAR centerlink above is almost a magic wand for our steering goals. In addition to adjustable height outer posts, bearing ends & a slug range of 1.50" in 1/16" increments ... it allows you to relocate the inner tie rod pivots inward or outward with clamp on inner tie rod posts. This is made with 4140 chromoly & each posts clamp on with 6 bolts & 3 set screws.
With all of these aftermarket racing centerlinks ... and utilizing rod ends instead of OEM tapered bolt tie rods ... we can adjust the Ackerman. We can reduce Ackerman by mounting the rod end as close to the centerlink as possible with no spacers. And we can increase Ackerman by using longer bolts, spacers & shims to push the rod ends further rearward, toward the FACL. This is what we used to do when we raced cars with steering boxes.



Step 4. If you trued up your steering box to the frame, when you attach the pitman arm, that side of the centerlink will be level if you take the droop out of it. What I mean is, if you bolt the centerlink to your pitman arm & just let it hang, the weight of the centerlink will droop on the end where the idler arm would go & bind up the bearings on the pitman arm end. You'll want to find the "center" of the two bind angles.

Do this ... put a digital angle finder on the centerlink & let it droop. For conversation sake, if it said -1.3° ... and you put your hand under the free end (idler arm end) and lift until you feel bind the other direction ... and your digital angle finder reads +1.3° ... you'll know that level (0.0°) will be zero bind. That is where you want the centerlink to be ... level. (If you get significantly different numbers, for example your angle finder reads -2.0° in droop & +1.0° in lift, your steering box may not be level.)

OK ... attach the idler arm to the open end. Use an adjustable jack stand, shims, old KC & the Sunshine band albums ... whatever you have ... to hold the centerlink level. Your next step is make it a true 90° to the chassis centerline. There are a lot of ways to achieve this. If you already trued up your suspension, then your FACL (Front Axle Center Line) lines on the floor are the BEST way to check this.

Step 5. With the centerlink level & truly square to the chassis, and the idler arm attached to the centerlink, swing the idler arm up to the side of the frame. Do the bolt holes line up?  9 out of 10 times = No. Don't sweat it. This is part of the process. You may need to modify the holes or weld them up & redrill new holes, depending on how far they're off. Before you do that, let's get the Idler arm EXACTLY where it goes.

Here are the factors that determine where to mount the idler arm (See image below):
  • With your centerlink level & parallel to your FACL.
  • Whatever the angle of the steering box axis is (see purple dotted line in photo on the left) ... the idler arm "post" pivot axis (green dotted line in the photo on the right) needs to be the same.



Next, measure from center-to-center of your centerlink pivots. For example only, let's say yours is 24-3/8" (see blue line example below). Then you need the pivot center of your idler arm to be the same dimension from the center of the splined shaft your pitman arm is attached to.   



As long as you are not using an OEM idler arm (or copy) & you're using a height adjustable racing style idler arm with a mounting "post" (Red dotted circle in image above) it should need to be spaced away from the frame some amount. Figure out that amount to get your idler arm post in it's correct location. If the gap is small enough, use a few aircraft machined washers & shims (like in our kit). If you need spacers too, we have another kit with spacers & shims. The bottom line is you want the "idler arm post to splined steering shaft" to be the same dimension as the centerlink pivots.

Lastly, you may need to cut off the "nose" (see green dotted rectangle in image above) on your crossmember & box it with a plate, for clearance.

Step 6. Bump Steer is used as a noun & a verb in racing. When you are measuring & adjusting your car's bump steer ... we call it "bump steering your car."  When it's done we care what the actual bump steer graph looks like ... how much bump steer you have throughout your usable travel ... and which way it goes. We call gaining toe out in dive (suspension compression) as "bump out" and we call losing toe-out in dive "bump in" regardless if we're actually toed in or out statically.   

Let's get some basics out of the way. This is not your Grandma's daily driver. This is your race car or at least the car you race with. In our world toe-in is the enemy & toe-out is our friend. We always want the car to have toe-out to some degree ... statically, in bump & dynamically when turning. Always toe-out.

One key reason we do not want to "cross-over" from toe-in to toe-out or vice versa ... is the tires' slip angle goes neutral when this happens. Said another way, when you have a small amount of toe-out driving down the road, the tires have a small degree of slip angle in the tread that creates grip. Tire basics 101:  No slip angle = no grip. If the bump steer of your car causes the tires to go from toe-out to toe-in ... for a brief bit of time when the tires were right in-between ... they didn't have grip. The feel in the steering is lightness. This is bad.

The same happens if go the other direction from toe-in to toe-out. So the moral of this story is we want to stay one side of the toe equation at all times. For Grandma Nelly's Delta 88 Cruiser, make sure it toes-in ALWAYS. But for our hot rods we're tracking, road racing or autocrossing, we need to make sure we're always in a state of toe-out.



There are crude ways & precise ways to do bump steer on your race car. How precise you do it probably depends on your commitment level to performance of your car. We use the Joes' bump steer measurement system on that makes the job quicker, easier, repeatable & more accurate. But it can be done less expensive ways. One is to clamp a laser level horizontally on the front rotors & project a laser point forward onto a light or white surface (wall, cardboard or whiteboard).

The math is easy: 
•   If you place the whiteboard exactly 8' ahead of your FACL, divide the amount you see by 4.
•   If you place the whiteboard exactly 10' ahead of your FACL, divide the amount you see by 5.
•   If you place the whiteboard exactly 12' ahead of your FACL, divide the amount you see by 6.
•   If you place the whiteboard exactly 16' ahead of your FACL, divide the amount you see by 8.

The farther out you go, the more accurate you will be, but you gotta work with the space you have in your garage/shop. 8' & 16' make the fractions easier to do math with. Here are "example instructions."

With the shocks & springs out of the car, jack the spindle up to exactly ride height relative to your chassis. (Measure this before you take the car apart)  Shoot the laser ahead onto a whiteboard 8' ahead of FACL & make a mark.

Now compress the suspension exactly 1" from ride height & make another mark on the whiteboard. Do this again at 2", 3" etc ... whatever you plan to travel your car in dive ... and make a mark on the whiteboard at each point. The amount of toe-out or toe-in will look exaggerated due to the 8' distance. 

For example, let's say your numbers look like this ... & do the math.
•   At 1" dive from ride height you gain 1/4" toe out ... divide by 4 & you actually have 1/16" bump-out
•   At 2" dive from RH you gain 5/8" of toe out ... divide by 4 & you actually have 5/32" bump-out
•   At 3" dive from RH you gain 1" of toe out ... divide by 4 & you actually have 1/4" bump-out

Let's Talk Toe, Bump & Ackerman
Toe-Out ... How Much?  Bump-Out ... How Much? Ackerman ... How Much? 
Good questions with no common answer that fits every car. I do have a good rule of thumb for each I've developed over the years.

I start with Ackerman.  If you read the grip section of this Forum site, you know WHY we're running Ackerman is to mechanically turn the inside front tire to achieve optimum grip. If you haven't read that yet, you should, to understand the importance of Ackerman in our steering.



How much Ackerman we need depends on how well we're working the inside front tire of the particular race car. Roll angle plays a big role in this. The flatter we get the car to run, the better it works the inside front tire & the less Ackerman we need to mechanically twist the tire to achieve optimum slip angle on the inside front tire (and therefore grip).

As a starting point ONLY, from my racing experience, my Ackerman guideline is:
•   If the car is rolling less 0.5° or less (Max) we need 25-40% Ackerman
•   If the car is rolling around 1.0° we need 50-70% Ackerman
•   If the car is rolling around 2.0° we need 80-100% Ackerman
•   If the car is rolling more than 3° the Ackerman doesn't matter, as the inside front tire isn't loaded anyway.

For static Toe-Out & Bump-Out, if we have enough Ackerman & especially if the Ackerman is tunable, then I have a very basic toe setting of 1/8" Toe-Out (Total) at ride height & bump-out each side 1/32" AT MY TARGET DIVE NUMBER for a total of 1/16" bump-out. This gives us a total of 3/16" toe-out in full dive under braking ... just before we turn the steering wheel into the corner. *Obviously the toe-out increases dramatically as the Ackerman does its job.

Just for conversation sake with cars in the 105-110" wheelbase zone & track widths around 60" ... 100% Ackerman will have the inside front tire turned "about" 6° more than the outside front tire. Ackerman of 75% would be around 4.5°, 50% around 3°, 25% around 1.5°. You get the general idea.

But, if we can't get enough Ackerman in the car, we can "cheat it" with a little additional static toe-out & a lot more bump-out. The most I've EVER ran on a short, tight road course was 1/4" of toe-out & 1/4" of bump out on a POS car with zero Ackerman.
I know people that have ran an inch of total toe-out & bump-out in autocross cars. It worked, and by worked, I mean the car was better than not running big toe-out ... but that's not the right way to do it. Getting the Ackerman right & running smaller toe-out & bump-out is MUCH faster, more consistent & doesn't kill tires.

Next topic : Rag Joints ... WTF? 
Rag joints in steering column assemblies is purely for street cruiser comfort. The goal of a rag joint is to use the layer of rubber & fibers to isolate the driver from the road.

Why in the name of all that is holy and sacred in racing would we want to do that?  We do not ... as they cause delay in steering response & isolate the driver from feeling what the tires are doing & how the car is handling.



Yes, I sell a rag joint for my clients that use their muscle car as a daily driver & cross country touring car. They have different goals. But for high performance & race cars, we want to throw these rag joints as far as we possibly can & replace them with an actual coupler or u-joint.

Bump Steer at the Steering Arm

If you're running an OEM Factory spindle, it has a tapered hole for the OEM type outer tie rod end to bolt to. The OEM style outer tie rod end is non-adjustable for height so, we want to change to rod ends & either use a bolt or tapered bump steer stud kit for attachment. Nothing wrong with utilizing a bump steer stud kit, like the one shown below, if you find one to fit your factory spindle.
Obviously the tapered end bolts into the steering arm. Then the cylindrical end utilizes spacers & shims for you to adjust your outer tie rod end to achieve your desired bump steer. Combine this with a racing centerlink with adjustable height pivot posts & slugs. Those two should allow you to achieve a pretty good bump steer curve.



Use the Large OD SAE washer (purple circle) & the regular nuts (green circle) we supply for taking on & off many times while adjusting your bump steer. Use the full height Aircraft Nylock Nuts (blue circle) for final assembly.
Quick Tips:
If we want more Toe-Out in dive:
  * Raise inner tie rod end pivot at rack or centerlink, or lower the outer tie rod end with spacers.
If we want less Toe-Out in dive:
  * Lower pivot at rack or inner tie rod end at centerlink, or raise the outer tie rod end with spacers

Our standard "Pro Bump Steer Bolt Kit" includes 3.50" 12-point bolts & an assortment of spacers & shims to dial in your bump steer.  If you find your car need longer bolts & more spacers, we have 4.00", 4.50" & 5.00" kits we can send you at no charge. The 4.00" & 4.50" kits replace the .250" tall tapered spacers with .625" tall tapered spacers.  If you need over 2" of spacer, our 5" kit includes two tapered steel spacers 2.00" tall (See image below), plus all the regular shims & smaller spacers. No extra charge if you need either of the longer kits.



Lastly, if you're running RSRT spindles, don't sweat the ratio in the steering box being 12.7-1 or 14-1. All RSRT Spindles utilize shorter steering arms that are slotted. Your kit comes with 0, .250" & .500" Offset Slugs for a Steering Arm Range of 4.25"-5.25" in 5 steps. The effective arm length is in the 4.9" to 5.9" range when we rotate the spindle to the 10-10.5° target caster we run. You can fine tune the slugs to make the steering moderately quick to super quick to suit your personal preferences.




I'm a veteran racer & race car designer committed to staying on the leading edge of racing technology, for one reason, to win. Everything else is BS. I'm only semi-retired because I still love helping build bad ass race cars.

While engineering, geometry, trigonometry, physics & more affect everything in race cars, I do my best to make the complicated easier to understand. One of my racing friends said, "Ron is a race car designer that did not go to engineering school, so he speaks car guy."